简易卡紧装置

一种复合运动夹紧装置-爱企查
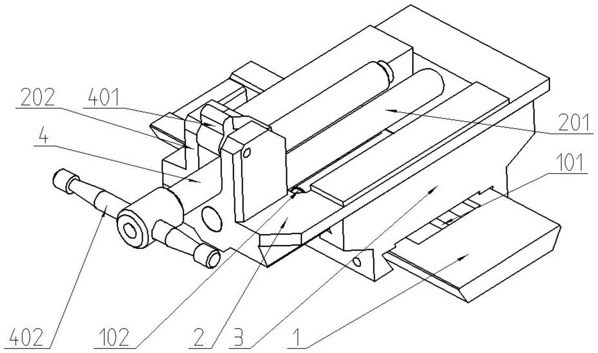
图片尺寸1465x1295
一种快速夹紧装置-爱企查
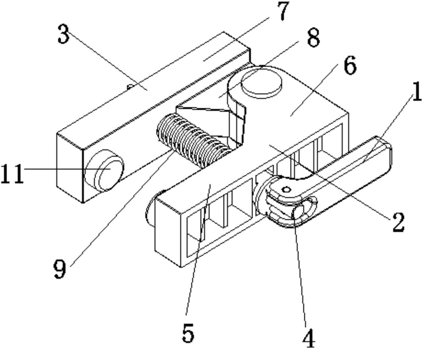
图片尺寸1949x1151
一种建筑模板夹紧装置-爱企查
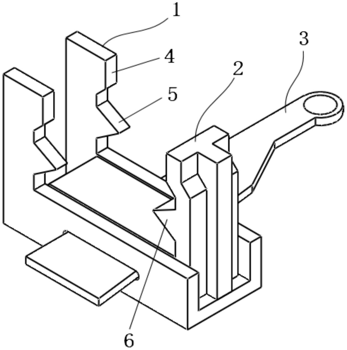
图片尺寸1421x1431
关于一种在水平面可以水平夹紧的装置设计
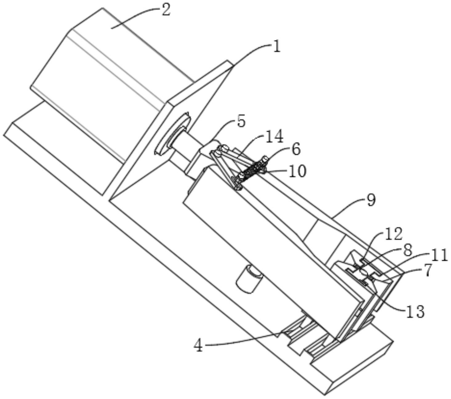
图片尺寸712x453
一种桃树嫁接用卡紧装置-爱企查
图片尺寸454x679
三维运动仿真:一种圆柱体夹紧装置
图片尺寸1728x1080
一种锁紧装置-爱企查
图片尺寸454x655
一种电力铁附件卡紧装置的制作方法
图片尺寸400x444
一种无动力快速夹紧防松装置-爱企查
图片尺寸800x721
手动压紧装置
图片尺寸419x232
快速夹紧装置三维模型
图片尺寸602x568
对中夹紧装置
图片尺寸530x352
齿轮夹紧装置-爱企查
图片尺寸800x644
一种夹紧装置-爱企查
图片尺寸1441x1189
一种拖曳钢丝绳时能够快速卡紧绳头的装置-爱企查
图片尺寸640x800
夹紧装置-爱企查
图片尺寸416x408
一种用于丝网绷紧装置的新型卡紧装置 - cn201710981260.
图片尺寸1000x385
弹簧卡头自锁夹紧装置-爱企查
图片尺寸800x576
一种井口加药漏斗卡紧装置
图片尺寸754x1301
圆形工件装配体夹紧装置-爱企查
图片尺寸1592x969