简易卷圆模具

无废料连续卷圆模
图片尺寸1080x1441
卷圆模具加工厂,德国引进的机器,效率就是不一般!243
图片尺寸540x960
模具#三步卷圆模具,一步不可以吗?
图片尺寸1080x1920
模具#w反折卷圆模具结构设计,全网独一无二!-全民小视频
图片尺寸1080x1920
马达壳卷圆模具,大家觉得这个怎么样?#需要软件资料的私信我
图片尺寸640x1138
模具#经典的一步卷圆模具!
图片尺寸1080x1920
经典连续模三步卷圆结构,合页产品一套模具搞定,详细结构揭秘-教育
图片尺寸3840x2160
两种卷圆模具结构
图片尺寸1080x675
卷圆模具
图片尺寸270x270
木头圆形蛋卷模具家用自制脆皮冰淇淋木质甜筒棒烘焙点心不粘工具
图片尺寸800x800
老式火烧模子手工压饼圆形模具简便家用加工烘焙模具
图片尺寸800x800
圆形 爱心 梅花 形手工皂硅胶管模长筒模具 32cm 蛋糕卷模具
图片尺寸310x310
合页铰链卷圆折弯成型模具
图片尺寸360x640
制造优质卷圆模具及冷冲模具冲压件
图片尺寸720x960
铁板抱箍卷圆冲压成型模具 够大没?
图片尺寸1080x608
弯管机模具76型o电动大棚方模圆模异形做铝合金尼龙模具
图片尺寸300x300
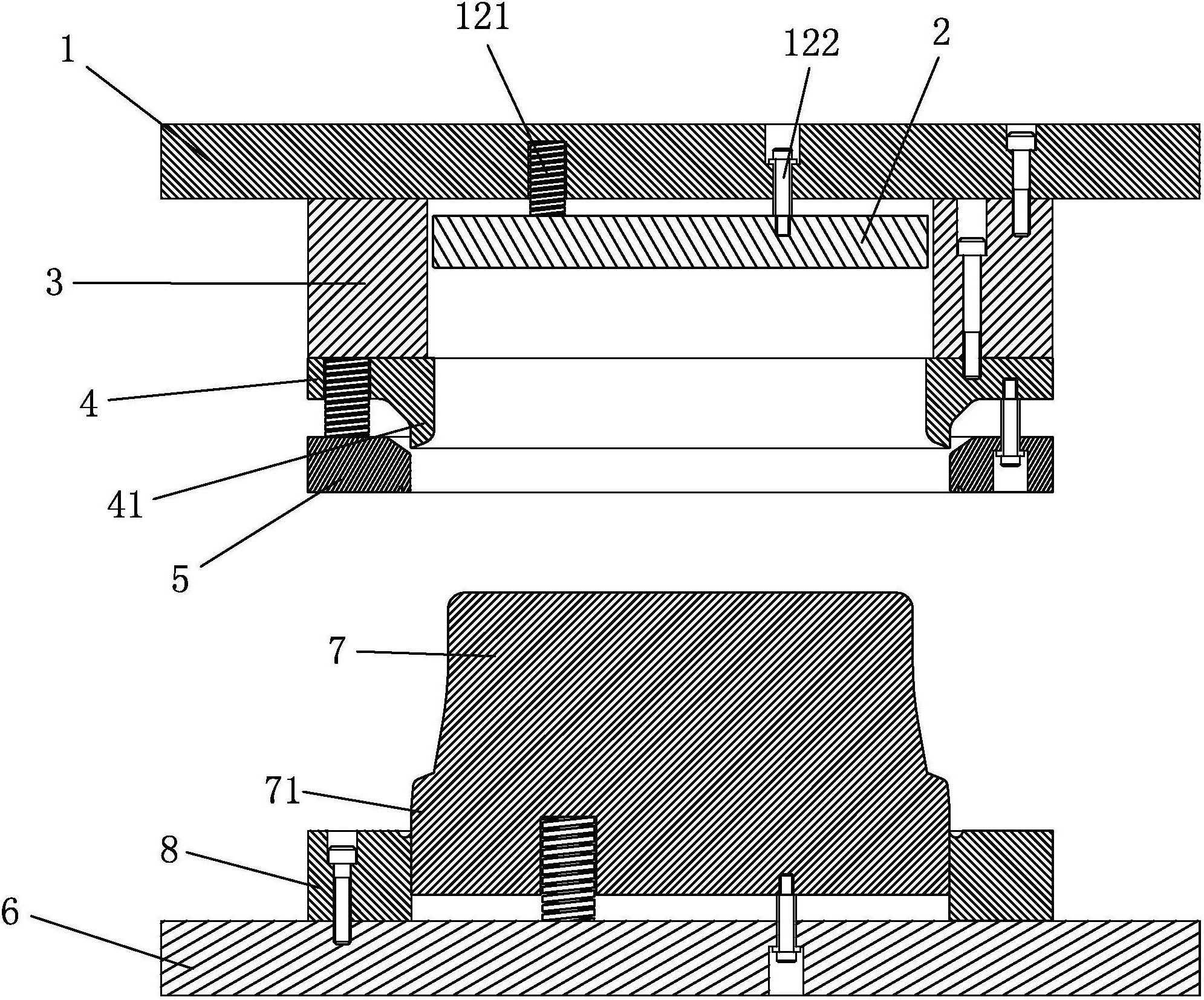
一种电饭煲外锅口部的卷圆模具-爱企查
图片尺寸1991x1654
卷圆模具,号称模具界印钞机!
图片尺寸1080x675
圆形铝制戚风蛋糕模具送脱模刀 3元券
图片尺寸750x750
calder inox 18/10 光滑圆形饼干模具,18 厘米直径- 4 厘米高
图片尺寸1500x888