简易吊东西装置

移动小型便携式可折叠吊机手摇小吊机家用手动升降吊车起重提升机
图片尺寸960x960
便携折叠移动小吊机装卸卸车起重吊架小型手摇其他起重工具
图片尺寸1080x1080
简易吊机 室内简易吊机-快速楼房吊沙机价格-东弘起重
图片尺寸500x500
小吊机面对突发情况该如何处理
图片尺寸410x349
微型电动葫芦支架家用小吊机室内吊运机装修小型起重机220v单立柱
图片尺寸430x430
安装吊空调外机神器吊装专用工具小吊机升降拆卸手摇绞盘厂家直销
图片尺寸800x800
便携折叠移动小吊机装卸卸车起重吊架小型手摇其他起重工具
图片尺寸800x800
折叠液压小吊机起重机引擎吊架汽修工具移动吊车其他起重工具
图片尺寸800x800
叉车简易吊
图片尺寸500x750
龙门架移动小型吊车手推简易龙门吊起重机家用可拆卸升降天车吊架2吨
图片尺寸750x628
类目:行业设备->-1 标签:悬臂吊, 吊具 描述:悬臂吊型吊具其实为简易
图片尺寸530x541
简易吊装机 吊装简易保险
图片尺寸800x736
绞盘 安装空调外机吊装工具神器支架拆卸通用手摇绞盘自锁升降吊机
图片尺寸750x1181
滑轮吊钩小吊机单杆简易室u内外家庭上料机高空小型提升机建筑装
图片尺寸400x400
集装箱简易吊具
图片尺寸800x450
便携式起重机起重机设备
图片尺寸750x750
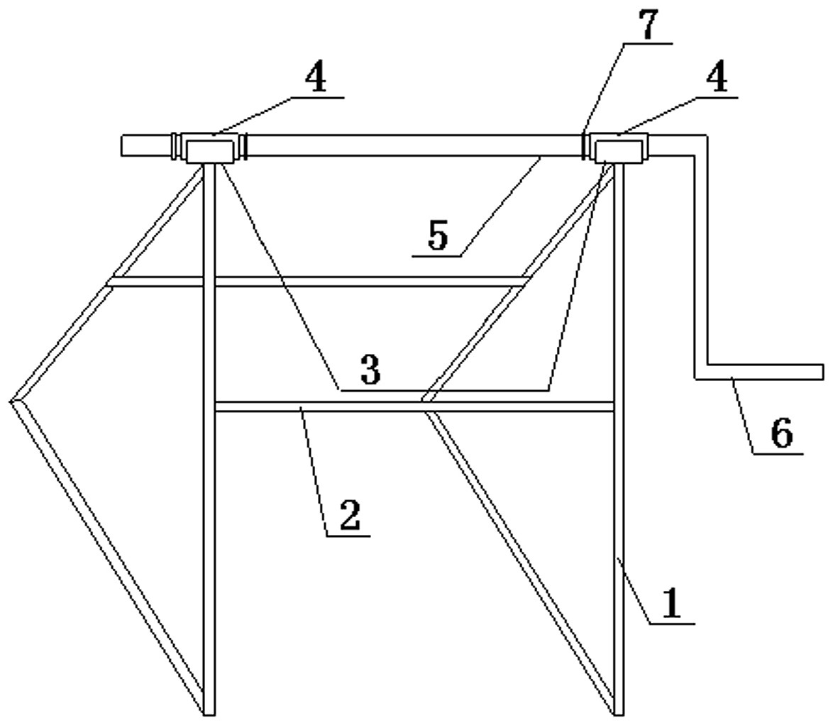
起吊装置
图片尺寸1623x1146
简易轱辘吊运装置-爱企查
图片尺寸1174x1022
刚性kbk起重机系列轨道吊挂装置汇总
图片尺寸820x815
类目:行业设备->-1 标签:悬臂吊, 吊具 描述:悬臂吊型吊具其实为简易
图片尺寸530x600