简易开幅机

开幅机
图片尺寸1521x837
sn一8900开幅卷布机
图片尺寸3000x2000
东莞市益启机械有限公司
图片尺寸1920x1920
sn一8900开幅卷布机
图片尺寸3000x2000
丽水开幅机定制 自动开幅真空吸水机价格
图片尺寸1440x1080
胚布开幅机
图片尺寸350x500
重庆剖布开幅机厂家开幅剖布机批发鑫豪机械
图片尺寸2071x2761
深圳市瑞德鑫自动化有限公司
图片尺寸4288x2848
厂家供应大开幅双面针织大圆机, 生产空气层,罗马布,夹层布等
图片尺寸750x750
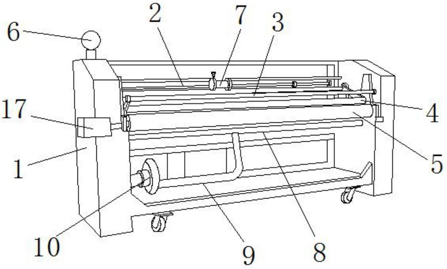
一种简易开幅对中机
图片尺寸1447x870
sma282a型绳状退捻开幅机
图片尺寸300x539
开幅机
图片尺寸1000x1000
rc-scnb自动松捻开幅机
图片尺寸444x670
sn一8700a开幅卷布机
图片尺寸3000x2000
优质标配验布卷布机制造商_自动对边卷布机_绍兴佶福智能科技有限公司
图片尺寸500x450
sn一8700a开幅卷布机
图片尺寸3000x2000
html 关键词:剖布机,落布机,开幅机 简易剖布机
图片尺寸1080x1440
高速单面开幅机
图片尺寸600x394
开幅机价格高清图片
图片尺寸1024x768
sn一8700a开幅卷布机
图片尺寸3000x2000