简易机械式锁紧机构

文档网 所有分类 工程科技 机械/仪表 轴向锁紧装置第1页 下一页 你
图片尺寸401x418
偏心凸轮锁紧如何实现自锁 - 机械设计 - 机械社区 - 百万机械行业
图片尺寸1234x768
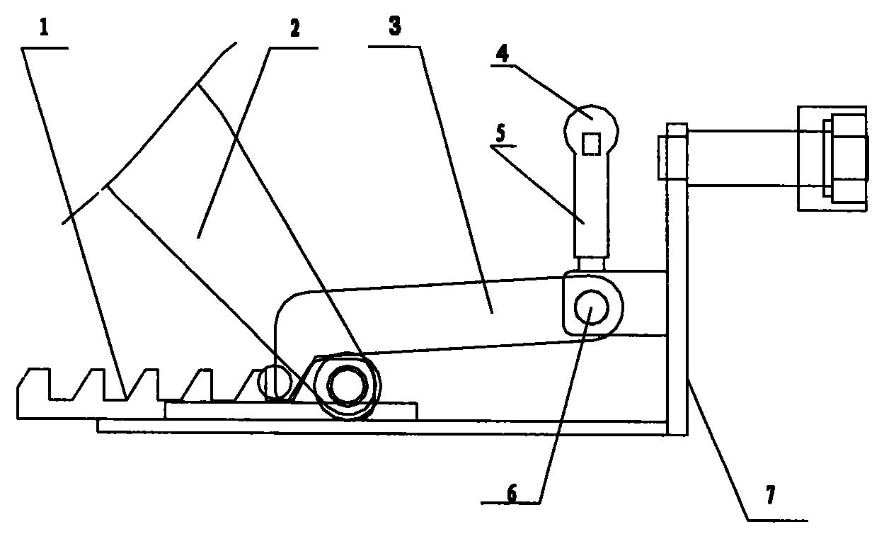
一款凸轮锁紧装置,是利用凸轮结构将开门机构锁紧,本结构特点是锁紧
图片尺寸670x469
偏心凸轮锁紧如何实现自锁 - 机械设计 - 机械社区 - 百万机械行业
图片尺寸1081x675
定位锁紧机构的制作方法
图片尺寸1000x913
锁紧机构
图片尺寸963x489
60个动图展示夹紧机构机械手的机械原理
图片尺寸400x396
二次举升机机械锁紧定位机构-爱企查
图片尺寸1249x754
调节锁紧机构下载_solidworks模型_solidworks2017三维模型 - 机械5
图片尺寸381x793
圆锥锁紧装置-机械加工-专业词典
图片尺寸844x482
快速锁紧结构
图片尺寸795x538
一种单动力大开度锁紧机构
图片尺寸1000x635
惰轮锁紧机构
图片尺寸461x293
8种锁紧与释放机械设计原理开拓你的机械设计灵感
图片尺寸524x412
请教大神,竖直导轨上的常闭式锁紧机构设计 - 机械设计 - 机械社区
图片尺寸763x810
精密机械加工厂家的螺旋抱紧式锁紧机构
图片尺寸799x599
自动螺栓装配锁紧机构设计资料 - 机械设计 - 机械社区 - 百万机械
图片尺寸531x745
三维动画夹紧机械
图片尺寸300x225
偏心凸轮锁紧如何实现自锁 - 机械设计 - 机械社区 - 百万机械行业
图片尺寸997x606
一种叉车用锁紧机构制造技术
图片尺寸1000x988