简易气排零配件

排气门组.jpg
图片尺寸960x860
液压扛的排气装置
图片尺寸798x356
单口排气阀
图片尺寸437x300
负压风机c配件网吧工厂车间养殖场工业排气扇专用扇叶叶托配件
图片尺寸400x400
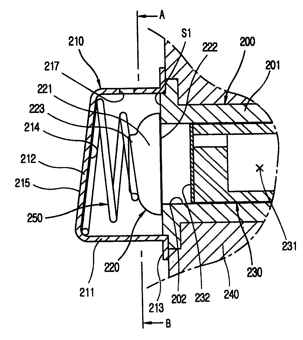
cn100414105c_往复式压缩机的排气阀组件失效
图片尺寸1248x1400
特价气排阀
图片尺寸800x800
跨境热销汽车配件铁制排气歧管螺栓维修工具适用于通用汽车 gmc
图片尺寸1000x1000
qb1-单口排气阀
图片尺寸648x228
气排阀全套 排一体换开关快速气缸配件静音放气气管组件排气
图片尺寸768x768
气块分气排配件气路分配器气管分流接头水排气体气动元件
图片尺寸800x800
气排阀全套 排一体换开关快速气缸配件静音放气气管组件排气
图片尺寸800x800
暖气片11件套散热器排气排水阀跑风堵头铝片挂架配件组合
图片尺寸2448x2448
p41x快速排气阀性能特点
图片尺寸333x210
活塞压缩机气阀配件 阀片弹簧制动器 往复式压缩机排气阀组件厂家
图片尺寸750x780
活塞压缩机气阀配件 阀片弹簧制动器 往复式压缩机排气阀组件厂家
图片尺寸750x444
气阀配件美的电饭煲零件排气4l5l6l升出高压锅限压电煲
图片尺寸800x800
手动气门座圈取出器
图片尺寸750x750
a4通气螺塞
图片尺寸654x830
diy打气筒高压快排 平头铝合金气缸 三圈平头活塞 厂家直销 秒发
图片尺寸750x750
气排分流器一出4/6/8机械手天行治具零配件 l块单孔螺母双孔五孔
图片尺寸750x750