简易结构图

椅圈楔钉榫结构图
图片尺寸640x360
结构简单,制造方便,成本低廉,传动效率高和使用维护方便.
图片尺寸307x257
如图是简易电动门式起重机的结构示意图.
图片尺寸348x224
结构图
图片尺寸820x660![[施工图]某简易车棚结构设计图](https://i.ecywang.com/upload/1/img1.baidu.com/it/u=2028728859,944921370&fm=253&fmt=auto&app=138&f=JPEG?w=707&h=500)
[施工图]某简易车棚结构设计图
图片尺寸840x594
cn203669242u_集成房屋简易组装楼梯结构有效
图片尺寸1000x727
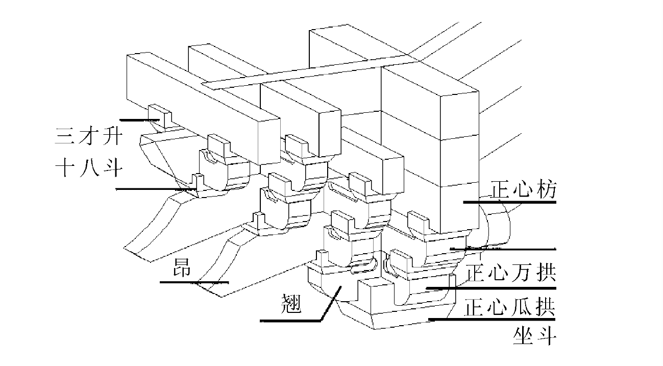
斗拱结构图
图片尺寸1299x717
新手做简易衣柜,请问如图松木方框架结构是否可行?
图片尺寸982x580
高中数学人教版必修二:1.1.2《简单组合体的结构特征》课件ppt
图片尺寸1237x855
1.2简单组合体的结构特征
图片尺寸558x214
内容:穿插体单体和简单形体组合的结构写生学习.
图片尺寸4032x3024
简易钢架结构图
图片尺寸391x371
简单组合体的结构特征.ppt
图片尺寸800x600
简单结构图
图片尺寸2551x1334
简易起重机结构简图如图(a)所示.已知重物重q,试求ab,ac杆所受的力.
图片尺寸652x249
请求一张(些)直线电机的简单结构图
图片尺寸484x354
汽车锁结构图的简单介绍
图片尺寸772x1000
结构分解图巴西简易模块化木屋,选择预制木质结构,建筑物被抬高以
图片尺寸499x574
1 空间几何体的结构 第2课时 圆柱,圆锥,圆台,球的结构特征,简单组合
图片尺寸1080x810
分别画出下图中立方batio3,四方金红石型tio2晶体结构的点阵图.
图片尺寸1080x810