简易豌豆支架

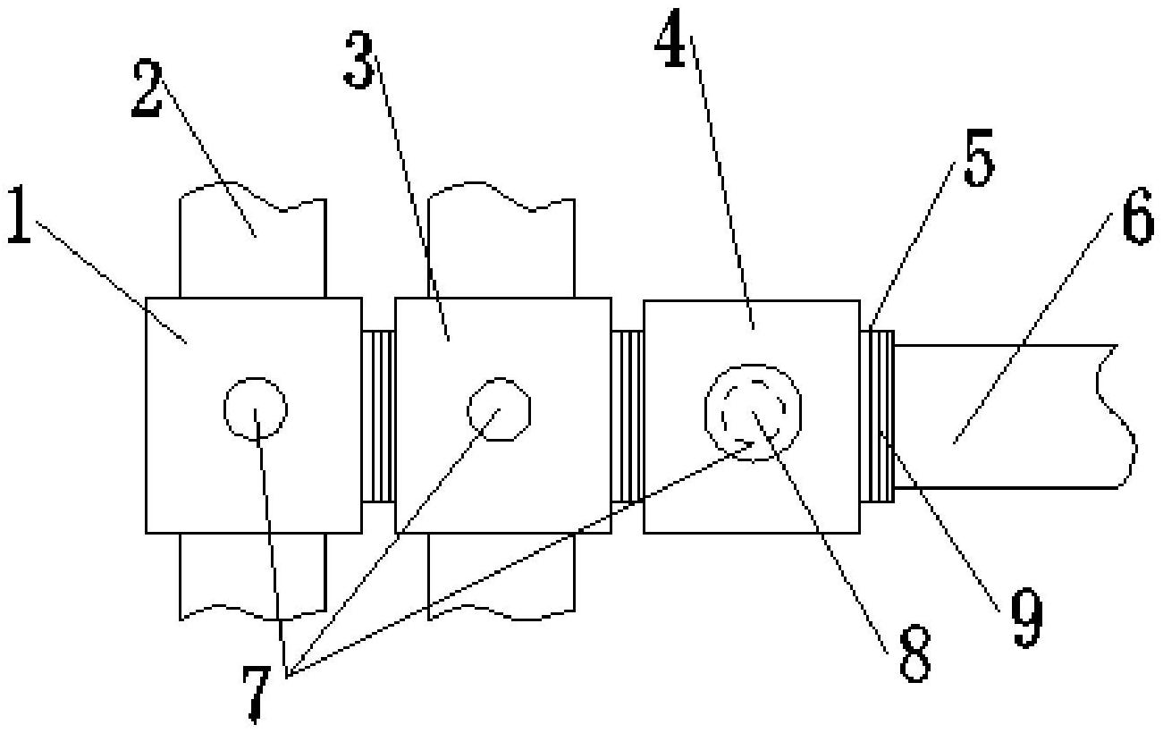
一种豌豆种植用支架装置的制作方法
图片尺寸996x1000
一种豌豆种植用支架装置的制作方法
图片尺寸1000x998
左尺桡骨远端骨折,左腕豌豆骨脱位1例
图片尺寸4000x3000
简单的豌豆架子
图片尺寸1024x768
直播豌豆手机支架 悬臂式投影仪怪手支架 主播监视器魔术手支架
图片尺寸1000x1000
三只青蛙加厚款圆盘桌面办公通用便携式懒人支架金属软管豌豆手机支架
图片尺寸800x800
一种用于豌豆藤支架的装置的制作方法
图片尺寸595x266
攀爬花苗扁豆固定支柱爬藤支架包塑钢管园艺支架葡萄架子葡萄骨架--爱
图片尺寸776x776
蔬菜拱棚支架.农用拱棚支架,豆角支架,黄瓜支架,花架,玻璃钢 - 抖音
图片尺寸1180x2096
新货-花支柱(日式藤本支架)fs-3-60
图片尺寸640x550
共178 件豌豆莲相关商品
图片尺寸1001x1334
单反相机固定万向自拍支架附件豌豆豆夹蟹钳球形自拍杆
图片尺寸800x830
万向魔术摄影配件多功能手臂豌豆金属支架云台辅助道具类
图片尺寸900x900
这款支架外观设计非常有质感,中间豌豆荚部分采用了高强度铝合金
图片尺寸615x341
园艺用品藤本植物爬藤架花盆花支架铁环花支柱月季蔷薇支架包邮
图片尺寸740x493
魔术手豌豆支架 360°凋节角度延长魔术手臂大号豌豆夹魔术链接臂
图片尺寸1000x1000
支架铝合金豌豆荚单反相机监视器云台魔术手臂球头怪手其它配件
图片尺寸800x800
怪手魔术豌豆荚万向支架可连接蟹钳夹子摄影师陈文云台
图片尺寸1000x1000
万向魔术摄影配件多功能手臂豌豆金属支架云台辅助道具类
图片尺寸1000x1000
一种豌豆苗可调节支架结构
图片尺寸1301x820