管束结构

cn204923959u_组合翅片式空冷器管束有效
图片尺寸1000x767
管束结构及安装图
图片尺寸402x550
传热介质,储液联箱,隔板,换热管结构为不等管间距的管束排列,换热管
图片尺寸1679x891
管束结构示意图fig.
图片尺寸753x261
u形管换热器管束结构问题
图片尺寸961x1013
一种空冷器管束结构制造技术
图片尺寸1000x603
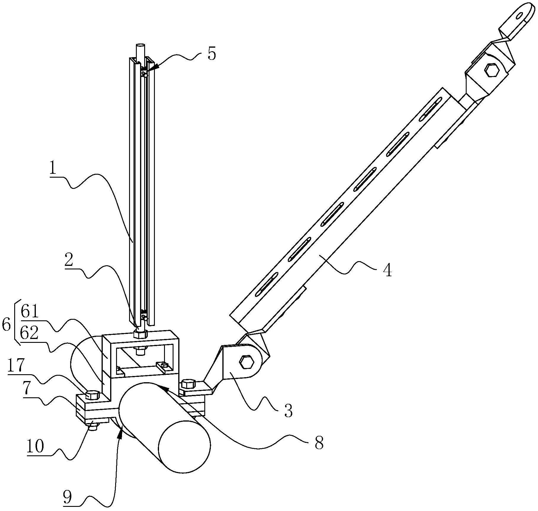
侧向抗震管束,涉及抗震支吊架的领域,包括纵向槽钢,纵向吊杆,压紧结构
图片尺寸1817x1726
一种防腐蚀的储罐内低位加热管束结构的制作方法
图片尺寸374x398
空冷管束布置4.jpg
图片尺寸880x373
新人求助空冷管束的问题
图片尺寸612x269
cn201819593u_多导程连续螺旋板换热器管束有效
图片尺寸1593x2501
一种非圆形截面双管程螺旋式换热器管束结构的制作方法
图片尺寸297x444
cn108827018a_一种适用于侧向进汽凝汽器管束结构在审
图片尺寸1945x799
一种换热器管束拆卸装置的制作方法
图片尺寸1000x539
cn101782319a_一种改进的管束干燥机用管束有效
图片尺寸1720x549
管壳式换热器管束结构优化发展概述pdf4页
图片尺寸792x1186
换热器管束支撑结构对壳程性能的影响
图片尺寸933x661
一种防腐抗垢的烟气换热器管束结构-爱企查
图片尺寸800x660
管束网格划分
图片尺寸800x423
湿式空冷器管束结构改进
图片尺寸256x241