管的结构

聚氨酯保温管结构
图片尺寸500x284
肾小管结构示意图
图片尺寸1500x1000
冷缩管结构图
图片尺寸675x328
常见的u型波纹管结构示意图
图片尺寸822x357
图1架空蒸汽保温管结构示意图
图片尺寸600x435
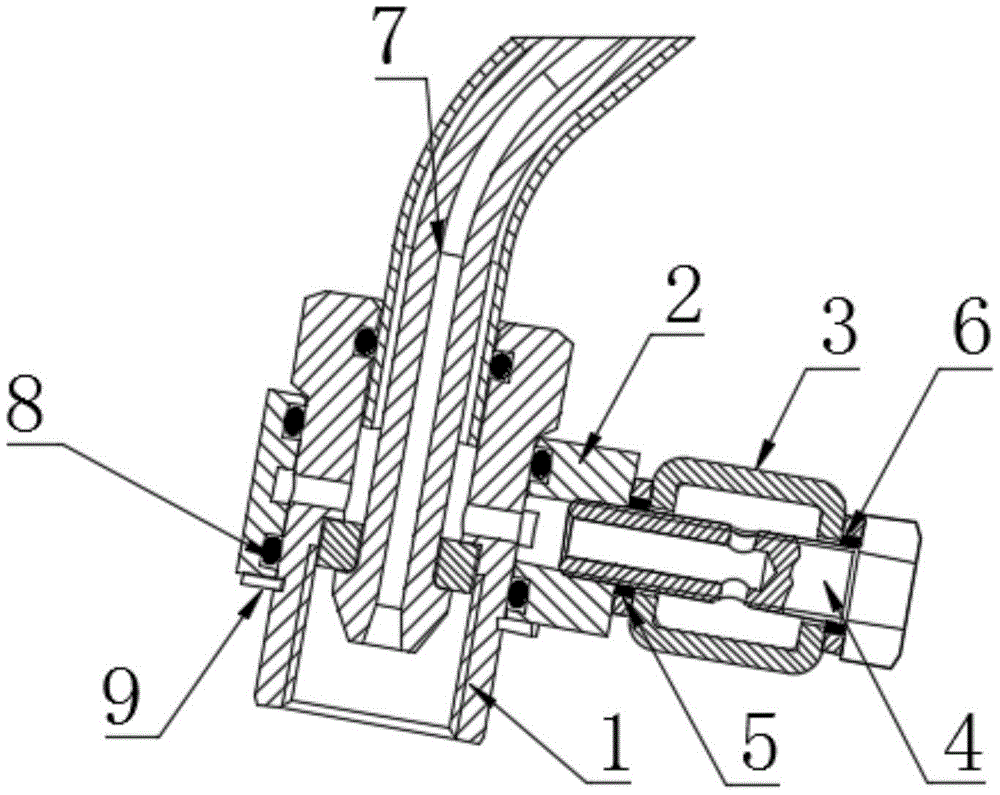
一种波纹管连接结构的制作方法
图片尺寸1000x490
双层高压燃油管的回油结构
图片尺寸1000x795
金属波纹管 - 概述,分类性能,发展史,产品结构 - 金山词霸汉语
图片尺寸293x330
三,文丘里管结构形式
图片尺寸526x313
一种新型建筑排水管连接结构的制作方法
图片尺寸653x1000
cn206488679u_一种轴向卡板式的针翅型翅片管结构有效
图片尺寸942x807
一种钢衬聚四氟乙烯复合管结构的制作方法
图片尺寸1000x574
本溪50袖阀管结构图
图片尺寸700x750
cn207966957u_半导体储存器的晶体管结构有效
图片尺寸1169x994
排水管结构的制作方法
图片尺寸431x443
一种波纹管的连接结构的制作方法
图片尺寸958x1000
金属管状加热管工艺结构图
图片尺寸553x196
一种新型异型管结构的制作方法
图片尺寸1000x833
一种具有抗压性能的水泥管结构的制作方法
图片尺寸459x407
一种耐腐蚀抗老化塑料管结构的制作方法
图片尺寸558x343