管道滑托与滑槽图解

厂家定制管道滑动支座 管道支架 管道管托 固定管道管架管夹
图片尺寸800x508
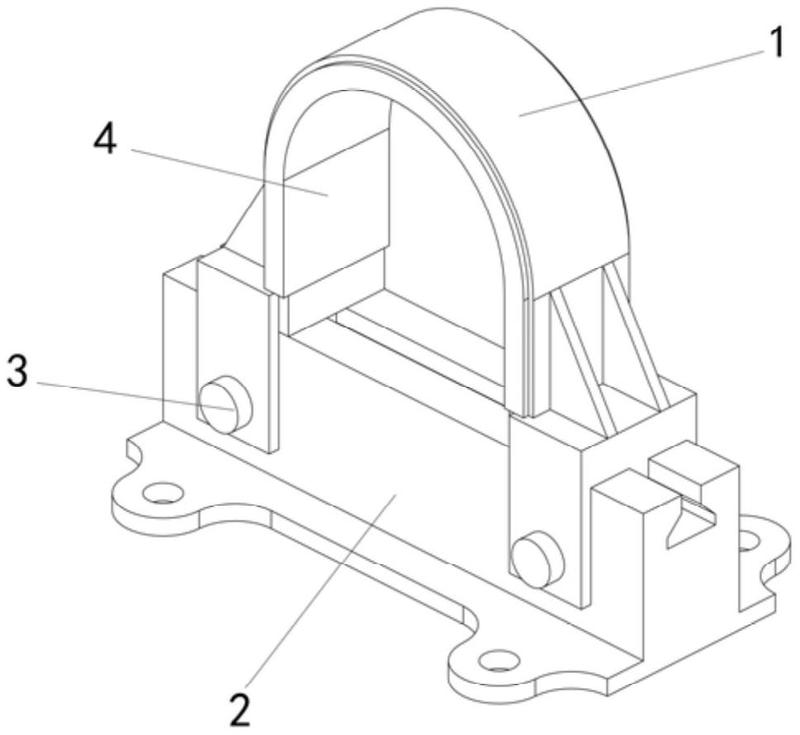
形式: (1)u形管卡支架安装:(图2---47)将管道直接置于型钢支架上
图片尺寸559x237
管道支架(固定,滑动)详图
图片尺寸560x393
扇形溜槽
图片尺寸690x517
空调管道安装保温橡塑托码起到什么作用
图片尺寸500x500
一种滑槽专用管道安装支架的制作方法
图片尺寸1000x847
管道支吊架安装2d. 套管应固定牢固,位置正确.c.
图片尺寸640x480
手机滑轨怎么用?
图片尺寸657x286
首页 建材 管道系统 管道辅助材料 镁钢隔热管托 镁钢隔热空调木托
图片尺寸750x766
管道滑动管托 管夹支座 导向 西北院标准加工 混凝土布料机定制
图片尺寸1920x1920
滑动隔热管托蒸汽管道滑托保温管道固定支座 架空400夹式导向管拖
图片尺寸800x1100
固定管托和滑动管托有什么区别
图片尺寸640x640
一种新型管道支架-爱企查
图片尺寸800x735
九江平式恒力弹簧组件厂推荐货源海润管道
图片尺寸600x512
dn200滑动管托厂家电话多少-昊诚管道
图片尺寸600x400
商标logo
图片尺寸1195x1675
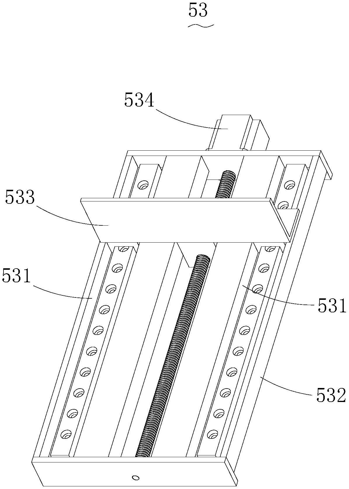
其包括底座,两条滑槽及支架,所述两条滑槽平行于钢板收料机送料方向并
图片尺寸1639x1392
管道支架钢结构安装:业务领域涉及厂房施工,管道支架,钢结构安装,钢
图片尺寸600x450
管道支吊架安装
图片尺寸612x448
td60f弹簧支吊架海润管道弹簧支吊架
图片尺寸600x541