管道过桥图纸

活动作品给水管道过桥弯
图片尺寸544x960
漫水桥施工
图片尺寸560x420
管道过桥图纸
图片尺寸1451x773
过河详细桥cad施工图
图片尺寸700x450
天然气管道过桥图例
图片尺寸1280x1024
桥上通信管道过桥设置图
图片尺寸712x448
给水管道过桥挂管大样图
图片尺寸610x432
管线过桥设计(附图示)
图片尺寸732x563
暖通,工艺管道过路桥架,应用请核对好荷载,本图纸包括:过路管道支架
图片尺寸633x500![[分享]弱电工程电缆桥架与管路施工工艺要求](https://i.ecywang.com/upload/1/img2.baidu.com/it/u=3017598210,2014678372&fm=253&fmt=auto&app=138&f=PNG?w=500&h=319)
[分享]弱电工程电缆桥架与管路施工工艺要求
图片尺寸570x364
管道所有图纸详细详图图纸参数图纸id: 949828图纸格式:dwg,doc,jpg
图片尺寸820x574
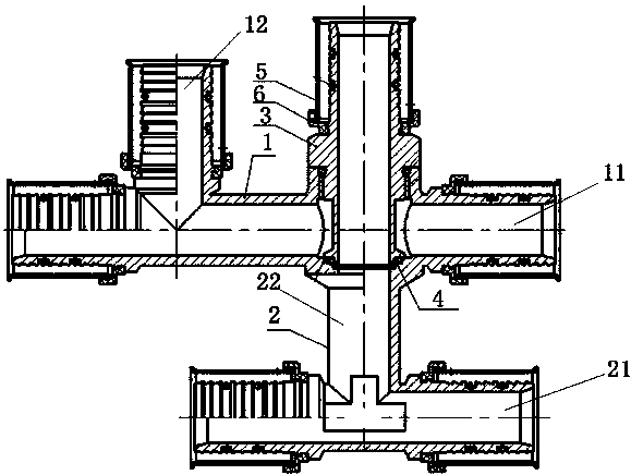
卡压式过桥三通
图片尺寸579x436![[分享]管道弹性资料免费下载](https://i.ecywang.com/upload/1/img0.baidu.com/it/u=2703903834,2686211136&fm=253&fmt=auto&app=138&f=PNG?w=736&h=500)
[分享]管道弹性资料免费下载
图片尺寸840x571
15孔d15米钢筋混凝土圆管漫水桥设计图
图片尺寸610x432
钢管拱桥图纸
图片尺寸820x581
过桥管架构造图cad图纸
图片尺寸800x566
关键词: 路桥工程图纸桥梁工程漫水桥圆管涵漫水桥钢筋混凝土
图片尺寸560x420![[施工图]上海某给水管网给水管桥设计图](https://i.ecywang.com/upload/1/img1.baidu.com/it/u=4096944894,3278496711&fm=253&fmt=auto&app=138&f=JPEG?w=500&h=331)
[施工图]上海某给水管网给水管桥设计图
图片尺寸560x371
给水管道过河施工图纸
图片尺寸1440x1020
某渠道测流桥设计图
图片尺寸412x297