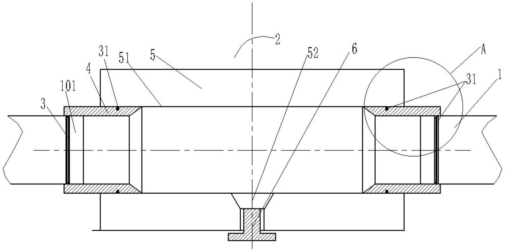
管道连接装置

双法兰限位伸缩器是一种常用的管道连接装置,它既可以连接不同直镜哪
图片尺寸1280x1280
连接不一样径向而发生的偏位,能很大程度的便捷闸阀管路的装置与拆装
图片尺寸640x480
深水管线用液压连接装置
图片尺寸1403x1475
徐州工程用对口器管道外连接装置对口器分类中隧
图片尺寸750x750
管道阻火器是用来阻止氢气火焰向外蔓延的安全装置. - 抖音
图片尺寸1280x960
徐州工程用对口器管道外连接装置对口器分类中隧
图片尺寸750x750
一种通风管道连接装置
图片尺寸1363x1192
一种水利工程管道连接装置
图片尺寸987x749
一种水下管道连接装置
图片尺寸444x288
cn212156200u_一种水利工程用管道连接装置有效
图片尺寸1735x970
立式管道连接装置的制作方法
图片尺寸324x443
用于车辆暖风系统的管路连接装置,车辆暖风系统及车辆-爱企查
图片尺寸1494x1024
天然气管道试压连接装置
图片尺寸377x211
一种给水排水管道连接装置的制作方法
图片尺寸956x1000
管道沟槽连接技术的工程应用探讨_柜式七氟丙烷_气体灭火装置_河南齐
图片尺寸640x701
cn113048298a_一种水利工程管道用连接装置及其连接方法在审
图片尺寸1916x1328
一种快拆式管路连接装置
图片尺寸1637x817
一种排水管道连接装置的制作方法
图片尺寸1000x919
排水管道连接装置的制作方法
图片尺寸1000x629
一种腔式法兰管件管道连接装置
图片尺寸1964x1556