箱变内部结构

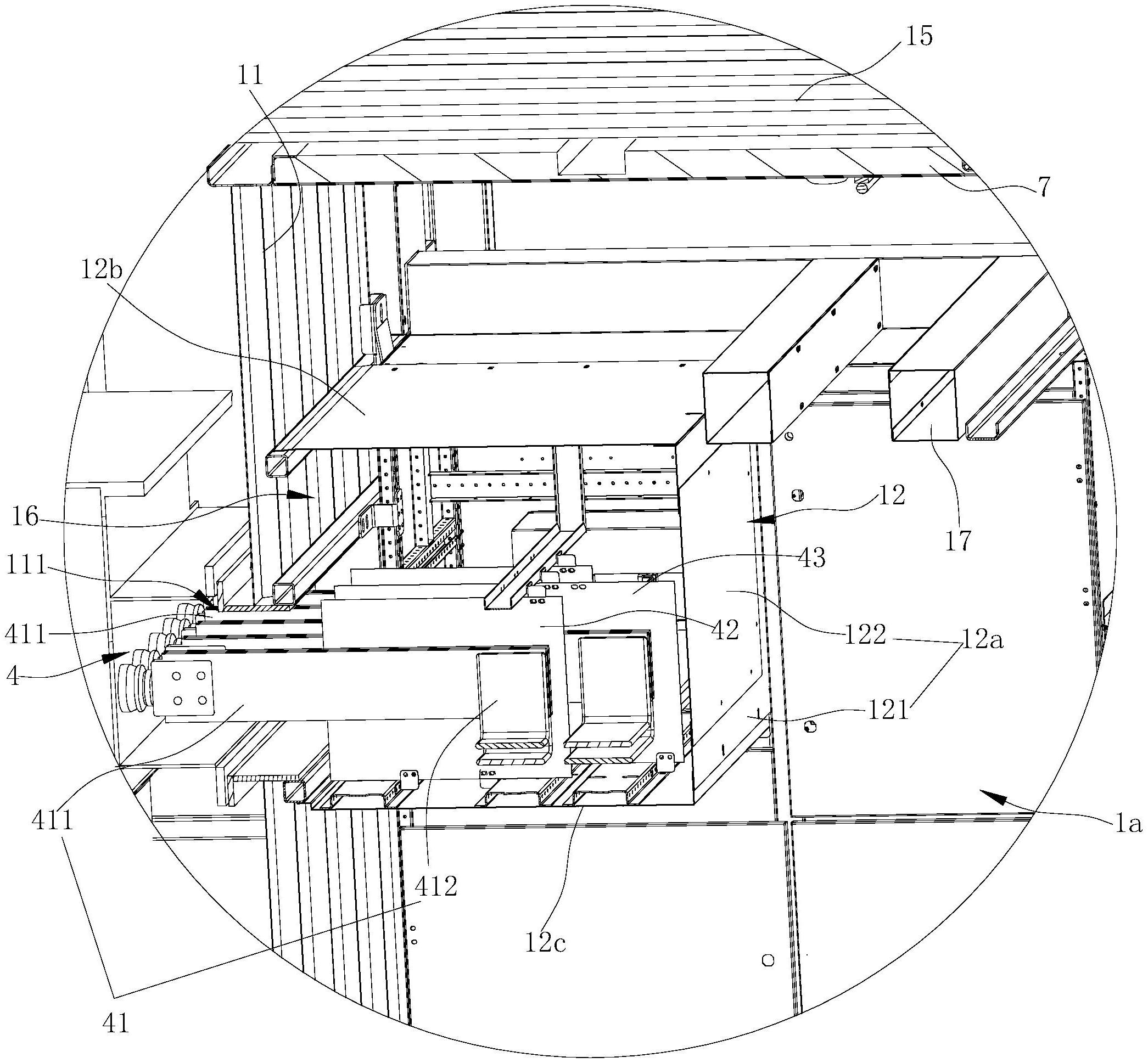
本实用新型涉及一种箱变结构,包括箱体,其内部设置有第一竖隔板,所述
图片尺寸2091x1937
一种箱变的变压器室通风对流结构的制作方法
图片尺寸386x444
箱变的结构施工及运行与维护精华知识总结掌握有大用
图片尺寸660x332
一种干式变压器箱体结构的制作方法与工艺
图片尺寸1000x742
路灯箱变内部结构主要分为三个部分:高压室,低压室,变压器室# - 抖音
图片尺寸1264x2492
一种风电箱变专用紧凑型高压隔室专利_专利申请于20
图片尺寸1890x1821
地埋式箱变(全埋式)-3
图片尺寸531x318
组装式箱式变电站内部细节图
图片尺寸820x593
你知道箱式变压器的内部是什么结构吗?新手小白赶紧进来涨知识!
图片尺寸1080x613
跪求箱式变压器构造
图片尺寸597x318
一种美式箱变装置的制作方法
图片尺寸369x444
实用新型一种风场箱变结构转让
图片尺寸444x301
美式箱变的结构(1)美式箱变将高压开关与变压器共一油箱,常用美式箱变
图片尺寸1080x540
一种大容量光伏发电用箱变
图片尺寸563x311
老电工带你们详细认识箱变
图片尺寸640x406
一种大容量风场箱变结构的制作方法
图片尺寸1000x679
实物教学:带你初步认识"美式箱变"内部都有些啥?高低压配电柜
图片尺寸1152x720
模块化欧式箱变外壳的制作方法
图片尺寸919x1000
上层支架的下方设置有消防器材箱,所述消防器材箱的内部设置有固定架
图片尺寸1849x1293
你知道箱式变压器的内部是什么结构吗?新手小白赶紧进来涨知识!
图片尺寸734x433