米斗平面图

一种凉米斗
图片尺寸1549x1640
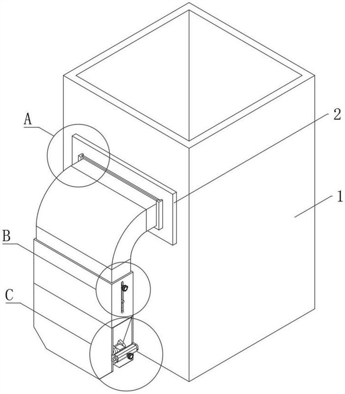
一种具有辅助下料结构的大米加工用米斗
图片尺寸702x800
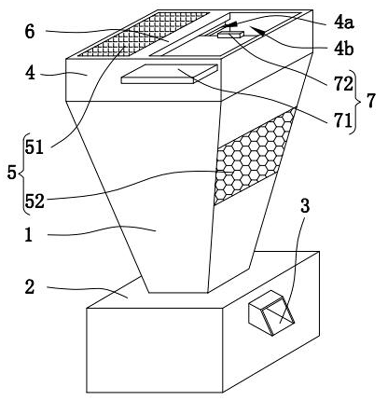
一种选通式下料机构,米斗及其储米柜
图片尺寸800x730
来咯,来咯,超大号米斗~招财摆件
大果紫檀米斗「日进斗金」
图片尺寸1620x1080
实木米斗老式日进斗金四方升子招财榫卯仿古创意家用摆件开业结婚
图片尺寸690x690
日进斗金收纳盒 招财进宝米斗.缅甸花梨木桌面收纳盒,笔筒,收
图片尺寸1440x1920
本实用新型涉及碾米机称米斗技术领域,具体为一种带
图片尺寸982x1000
一种米机储米斗的制作方法
图片尺寸982x1000
装小米的米斗源文件
图片尺寸1024x1024
建筑图集打卡
图片尺寸1080x1014
商标logo
图片尺寸1595x1959
星座缘桃木日进斗金摆件米斗四方米斗用品米斗升米升子米斗老式米斗
图片尺寸790x622
gallery-img
图片尺寸1400x1400
红花梨米升子米斗卯榫红木燕尾榫婴儿剪头满月结婚开业同心木屋
图片尺寸800x800
搬家木斗老式圆形红色木质老式斗乔迁入宅 普通大号平面印花高21
图片尺寸800x800
超清晰米斗大图图片
图片尺寸1001x667
升子,米斗
图片尺寸1080x1440
老式米斗老式实木米斗升子米升榫卯结构斗结婚中式摆件榫卯8斤原色
图片尺寸800x600
民间故事:翻斗记
图片尺寸640x509
老式米斗老式实木米斗升子米升榫卯结构斗结婚中式摆件榫卯8斤原色
图片尺寸800x800