粉笔夹持器

粉笔套带磁性无尘粉笔夹粉笔延长器双弹簧自弹粉笔带收纳盒4支装
图片尺寸1440x1920
防尘塑料教师粉笔夹磁性粉笔套杆教师书写延伸长器粉笔套大号
图片尺寸1000x1000
粉笔套教师专用旋转式免脏手粉笔夹自动手套防灰紧固收紧延长神器通
图片尺寸790x1280
粉笔套粉笔夹壳教师专用自动手套无尘免脏手握笔器按动式磁性防粉尘灰
图片尺寸790x1000
教师小学粉笔粉笔器粉笔夹套专用自动按动式无尘手套夹免脏手壳童
图片尺寸300x300
教师粉笔握笔器粉笔套创意夹专用不脏手儿童粉笔
图片尺寸799x799
粉笔夹持器
图片尺寸1000x646
j粉笔延长器办公教学水溶性粉笔套无尘粉笔专用粉笔套粉笔夹0.03.
图片尺寸790x790
粉笔套教师用自动粉笔夹壳防灰免脏手护手套老师磁性按动式保护套握笔
图片尺寸790x1434
粉笔套粉笔夹壳教师拿专用自动无尘免脏手握笔器按动式磁性防粉尘灰套
图片尺寸790x1250
新款创意粉笔套延伸器粉笔夹教师专用儿童环保实用5个装
图片尺寸800x800
柏伦斯粉笔套儿童粉笔夹学生家用按动式无尘粉笔夹老师粉笔套教师长免
图片尺寸800x800
抖音点烟粉笔点烟器巧克台球充电同款雕刻檀木巧粉夹
图片尺寸1080x1440
j粉笔延长器办公教学水溶性粉笔套无尘粉笔专用粉笔套粉笔夹0.03.
图片尺寸790x790
新款创意粉笔套延伸器粉笔夹教师专用儿童环保实用5个装
图片尺寸800x800
套粉笔夹壳教师自动式磁性防粉尘灰延长动无尘免脏手握笔器按10支
图片尺寸800x800
包邮 特大圆规夹铅笔 白板粉笔 记号水笔 夹笔器画圆工具 画圆器
图片尺寸800x450
粉笔夹持器的制作方法
图片尺寸1000x647
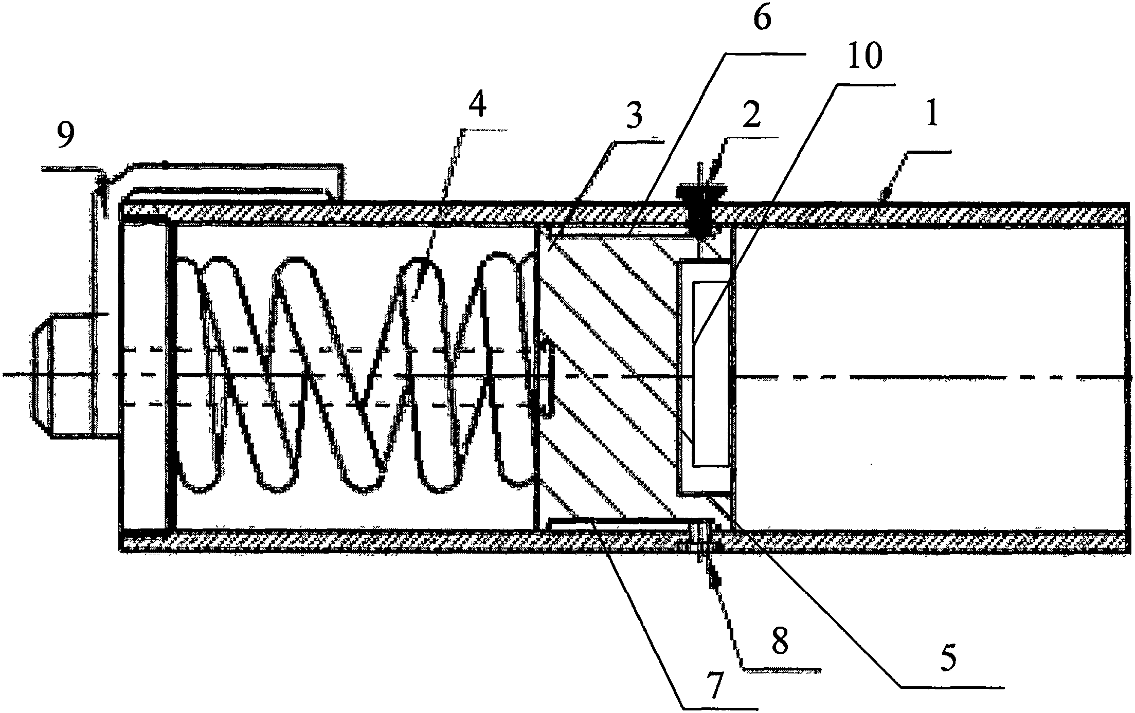
一种粉笔夹持器
图片尺寸2207x1387
一种教学用粉笔夹持器
图片尺寸668x1000