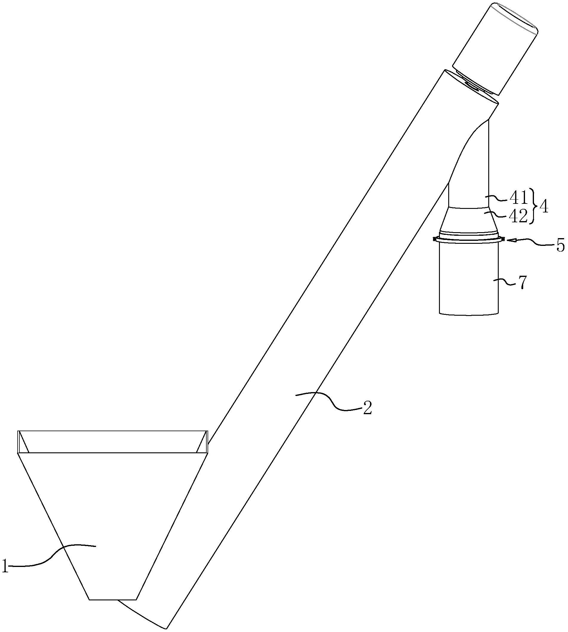
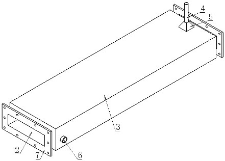
粉管设计

体的尾端压制成线性的封口,所述管体的管头被设计为具有圆台状的出口
图片尺寸1597x1188
雾化制粉导液管的制作方法
图片尺寸624x1000
被site唇粉包装设计迷住了,质感也超好!
图片尺寸1080x1074
一种具有夹持效果的石膏粉出料管-爱企查
图片尺寸668x799
超细粉体复合塑胶隔氧耐压冷热水管及其制造方法
图片尺寸360x295
粉体输送系统的管道设计
图片尺寸800x600
一种粉料输送管-爱企查
图片尺寸1438x1271
一种钼粉冷却管-爱企查
图片尺寸441x316
一种粉煤灰单管计量装置-爱企查
图片尺寸1902x2118
f3高亮圆形白光点阵 1088bw 荧光粉工艺 led数码管
图片尺寸800x800
实体厂家专业生产销售-媒粉耐磨直管媒粉管上门测量免费设计
图片尺寸1000x1000
定制霓虹灯明彩粉管霓虹灯广告牌设计霓虹灯牌厂家
图片尺寸500x281
带辅助装置的填粉机
图片尺寸1910x667
粉体气力输送方案设计报价
图片尺寸750x750
plazotta seit 1893德国 高硼硅玻璃吸管耐热防烫防口红印染吸管 粉
图片尺寸800x800
x一种粉粒物料流态化输送管-爱企查
图片尺寸1873x1175
压力容器 换热压力容器 工业炉 上传图纸补贴活动 免费发布设计需求
图片尺寸803x580
假花装饰客厅空调水管道缠绕花藤暖气遮挡花条 120朵浅粉迎春花-1条
图片尺寸800x800
基质土管链式输送机粉料管链输送设备特点
图片尺寸842x595
单支管瓶子礼盒包装中药麝香粉设计高档亚克力包装瓶冬虫夏草管子
图片尺寸800x800