精梳机图解

精梳机的结构和作用原理
图片尺寸1659x883
精梳机工作的运动配合3.经压辊压紧后,由棉卷罗拉绕成小卷.2.
图片尺寸812x486
直型与棉型精梳机的工艺过程及运动配合
图片尺寸655x332
直型毛精梳机
图片尺寸457x308
精梳机的结构和作用原理
图片尺寸784x660
精梳机的结构和作用原理
图片尺寸838x663
精梳机的结构和作用原理
图片尺寸788x688
一种具有消毒杀菌功能的精梳机的制作方法
图片尺寸1000x508
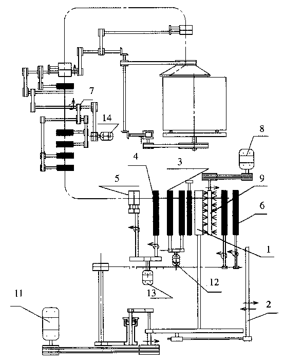
一种四驱动联动精梳机
图片尺寸553x709
jsfa288精梳机产品说明书
图片尺寸893x389
圆形精梳机(3)前后摆式精梳机(2)后摆式精梳机(1)前摆式精梳机1.
图片尺寸363x345
一种纺织用红外感应直型精梳机制造技术
图片尺寸1000x641
直型与棉型精梳机的工艺过程及运动配合
图片尺寸392x370
须条每经一道工艺设备,纤维弯钩就变向一次,要保证喂入精梳机的小卷中
图片尺寸450x407
cn200992601y_多驱动联动精梳机失效
图片尺寸1880x2184
一种精梳机的拼接分度装置
图片尺寸891x1000
棉精梳机分离罗拉顺转定时对棉网均匀度的影响
图片尺寸378x201
在上述图中关于精梳机一个周期内梳理运动过程描述正确的组合是
图片尺寸802x694
精梳机制造技术
图片尺寸784x1000
在精梳机(直型)的工作过程中,喂给部分输入一定长度纤维层,由钳板握持
图片尺寸639x356