精滤器简图

一种易更换滤芯的精密过滤器
图片尺寸1577x2240
cn2185627y_旋流精滤器失效
图片尺寸1728x2080
精密过滤设备 精密滤芯过滤器 精密过滤器操作规程 唐
图片尺寸881x1024
精密过滤器功能和目的
图片尺寸604x358
一种啤酒精酿过滤器的制作方法
图片尺寸292x443
(二)机油粗滤器
图片尺寸1815x1305
不锈钢精密过滤器 微孔膜过滤器图纸
图片尺寸507x361
四.设备简图
图片尺寸599x378
精密过滤器工作原理及特点
图片尺寸893x340
精密过滤器品牌厂家
图片尺寸600x734
一种改进结构的袋式过滤器专利_专利申请于2020-11
图片尺寸1598x1941
cn2155441y_磁性复合高分子燃油精滤器滤芯失效
图片尺寸1504x1952
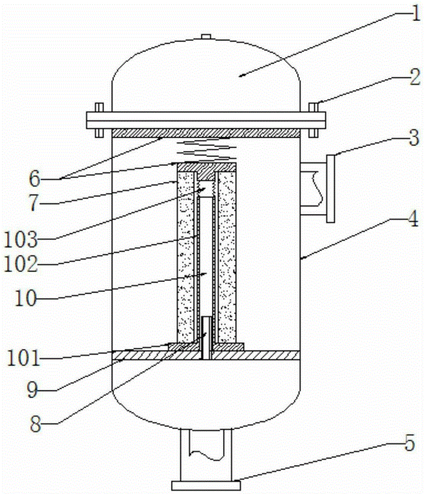
本实用新型公开了一种滤芯式过滤器,包括过滤器壳体
图片尺寸861x1000
精密过滤器
图片尺寸388x396
一种硅藻土过滤机的制作方法
图片尺寸1000x899
一种可拆卸精密过滤器制造技术
图片尺寸732x1000
压缩空气精密过滤器使用说明书
图片尺寸724x547
甘肃邦诺净化设备有限公司压缩气体过滤器可广泛应用于
图片尺寸300x400
cn205677691u_一种机油滤清器有效
图片尺寸1587x2399
一种海水过滤器,包括壳体和滤芯,壳体呈桶状,且壳体
图片尺寸1944x1818