纳粹钟图纸

为什么用现代科学无法解释"纳粹钟"?它到底是什么?
图片尺寸883x868
"纳粹钟"能扭曲时空吗?为什么说它是地外文明的产物?
图片尺寸640x756
神秘的纳粹钟
图片尺寸749x472
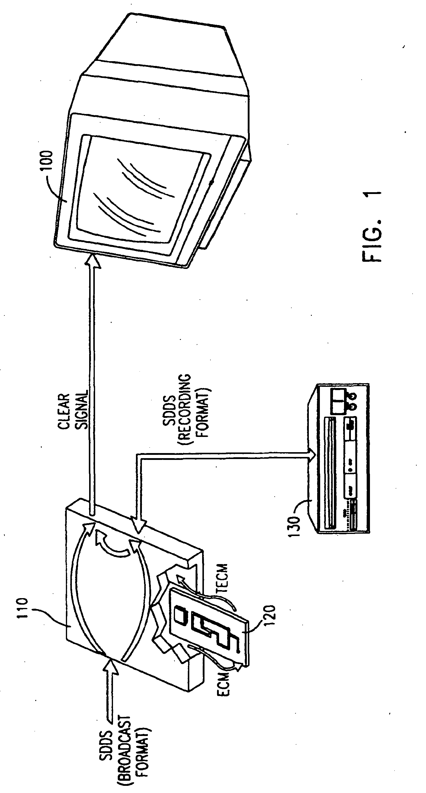
「陈大漓」机械钟简史 1.
图片尺寸640x976
美国人发现了纳粹钟震惊了整个世界,而这只是真相的冰山一角
图片尺寸490x390
纳粹钟为何会被称为死亡之钟百米范围内全都寸草不生
图片尺寸591x378
反重力飞行,把生物变成晶体,"纳粹钟"是什么,是否真实存在?
图片尺寸309x403
cn102109807a_包括第一日期轮和第二日期轮的带日历机构钟表有效
图片尺寸1930x1560
dlask 1911 mainspring housing, various
图片尺寸1039x834
kupplung zur drehmomentübertragung von einem durch
图片尺寸1536x2889
gert zum wahlweisen einstellen der temperatur einer
图片尺寸1842x2908
水钟(其他生活相关)
图片尺寸620x757
二战时德国的纳粹钟是外星科技传说可以毁天灭地威力巨大
图片尺寸632x544
verfahren zur flexiblen, sicheren datenübertragung
图片尺寸1429x2657
机械部件钟表机械部件的制造方法及钟表的制造方法与流程
图片尺寸882x1000
伽利略的摆钟模型
图片尺寸648x834
03 relay board
图片尺寸736x876
不可磨灭的功勋——苏军伊尔-2攻击机
图片尺寸640x521
"纳粹钟"是什么?真的可以穿越时空吗,为何到现在都无法解释?
图片尺寸559x804
测时钟表制品的制造及其维修技术
图片尺寸740x1000