纸卡结构缓冲设计

【妙懂】给家电产品设计瓦楞纸板缓冲结构很难?没想到分三点就说透了!
图片尺寸640x402
【妙懂】给家电产品设计瓦楞纸板缓冲结构很难?没想到分三点就说透了!
图片尺寸640x365
一种适用于圆柱体产品的通用缓冲纸内卡
图片尺寸1560x1379
【妙懂】给家电产品设计瓦楞纸板缓冲结构很难?没想到分三点就说透了!
图片尺寸640x371
求这款缓冲纸卡刀模图
图片尺寸260x180
瓦楞缓冲
图片尺寸730x544
瓦楞纸缓冲结构
图片尺寸2475x1749
cn201284066y_一体成型式纸缓冲装置失效
图片尺寸2160x1517
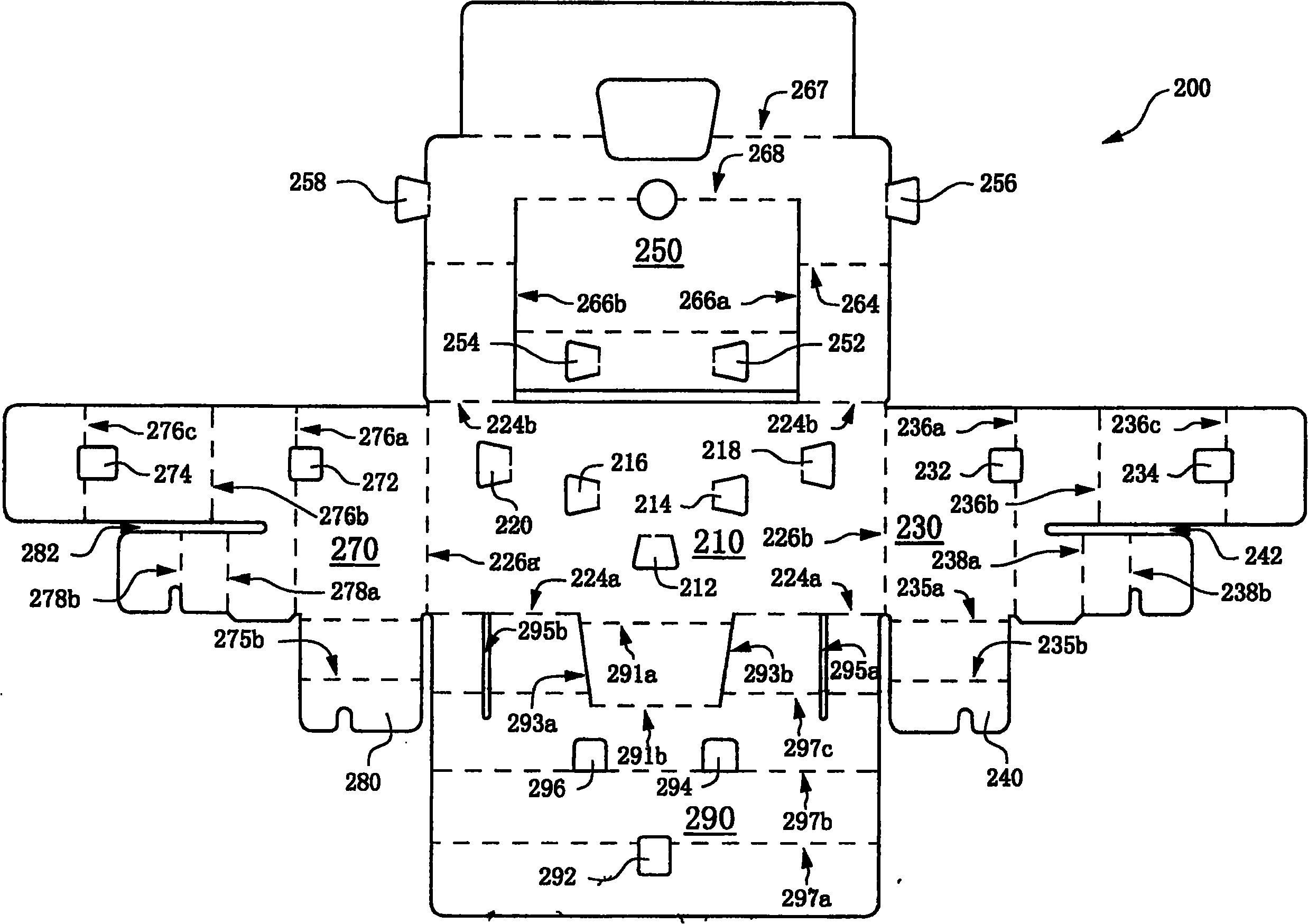
一种环保型包装用的纸结构缓冲保护装置
图片尺寸1739x1659
>>获奖学生:李艳指导老师:宋卫生获奖评语:整体设计合理完整,缓冲结构
图片尺寸286x302
一种包装缓冲结构及包装盒的制作方法
图片尺寸711x1000
带缓冲结构的包装纸盒
图片尺寸651x523
一种变频器双层瓦楞纸缓冲包装盒的制作方法
图片尺寸1000x996
尤其是仅通过瓦楞纸板结构设计进行缓冲的缓冲包装
图片尺寸1000x495
出口到其他国家,在复杂的物流环境下,需要产品包装具有良好的缓冲效果
图片尺寸1000x758
cn1581014a_缓冲结构有效
图片尺寸453x709
瓦楞纸盒包装,设计了缓冲包装,避免了运输过程中的碰撞.
图片尺寸599x480
分享收藏包装包装纸卡 纸盒(缓冲)纸托缓冲包装结构电动牙刷牙刷包装
图片尺寸1280x801
缓冲包装盒的制作方法
图片尺寸773x1000
一种缓冲减震瓦楞纸托垫的制作方法
图片尺寸1000x960