纸横梁怎么画

小纸桥,大学问
图片尺寸1280x960
【100g纸桥】简单可靠的三角梁式桥!_哔哩哔哩_bilibili
图片尺寸1057x661
横梁简笔画
图片尺寸500x200
居然画了梁.
图片尺寸1080x1080
贞亨利民单张纸凹印机零配件wd-61303后横梁
图片尺寸500x305
95米,长为2.47米,框中交叉四根人字型的梁,求梁的长度多少
图片尺寸715x662
2020110832226
图片尺寸400x404
剖面b-b.在这个对应的梁上要添加哪些纸盍┝?
图片尺寸3024x4032
折梁怎么画
图片尺寸1143x714
点染紫禁城器用流光衣饰生辉雕梁焕彩3册勾画中的故宫故宫博物院纸上
图片尺寸400x400
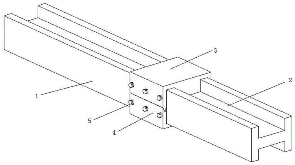
一种龙门加工中心横梁的制作方法
图片尺寸1000x809
受筋梁筋a图构工筑 ,是纸力筋是中箍的.的建中就箍v造柱指s施也
图片尺寸450x499
画钢筋的简笔画柱子上简笔画石柱简笔画柱子怎么画柱子简笔画简单彩色
图片尺寸380x536
关于梁的画法
图片尺寸387x367
古代建筑的梁是方的还是圆的
图片尺寸770x628
一种建筑钢结构横梁的制作方法
图片尺寸1000x798
一种桥式起重机横梁的制作方法
图片尺寸1000x532
一种便于组装的钢结构横梁
图片尺寸1000x561
请教下仿古的老仔角梁应该怎么画
图片尺寸986x581
一种桥梁箱式横梁加固安装结构
图片尺寸1880x916