线切割刀具图纸

谁有线切割匕首图纸发个给我
图片尺寸867x642
315个线切割刀具cad图纸 id7381
图片尺寸750x480
315个线切割刀具cad图纸 id7381
图片尺寸750x491
咖啡粉枕式包装机总体设计及横封切断装置设计【含21张cad图纸】
图片尺寸428x594
315款刀具图纸0aa019-图纸文件 (123)
图片尺寸1263x1787
数控线切割中级工试题答案
图片尺寸364x456
一种铣削刀具
图片尺寸1690x1986
刀具cad图纸刀型设计图二维手工小刀匕首激光线切割加工刀diy素材
图片尺寸800x800
线切割图纸分解
图片尺寸415x595
线切割实训图纸编程练习
图片尺寸647x1107
315个线切割刀具cad图纸 id7381
图片尺寸750x533
315个线切割刀具cad图纸 id7381
图片尺寸750x536
图纸
图片尺寸813x462
67适合于木工小修边机上的木工起线刀具使用小知识
图片尺寸551x647
车床刀具示意图
图片尺寸671x432
这个是履带两端的连接件 计划用线切割加工 cad和caxa的图纸均可以
图片尺寸1206x634
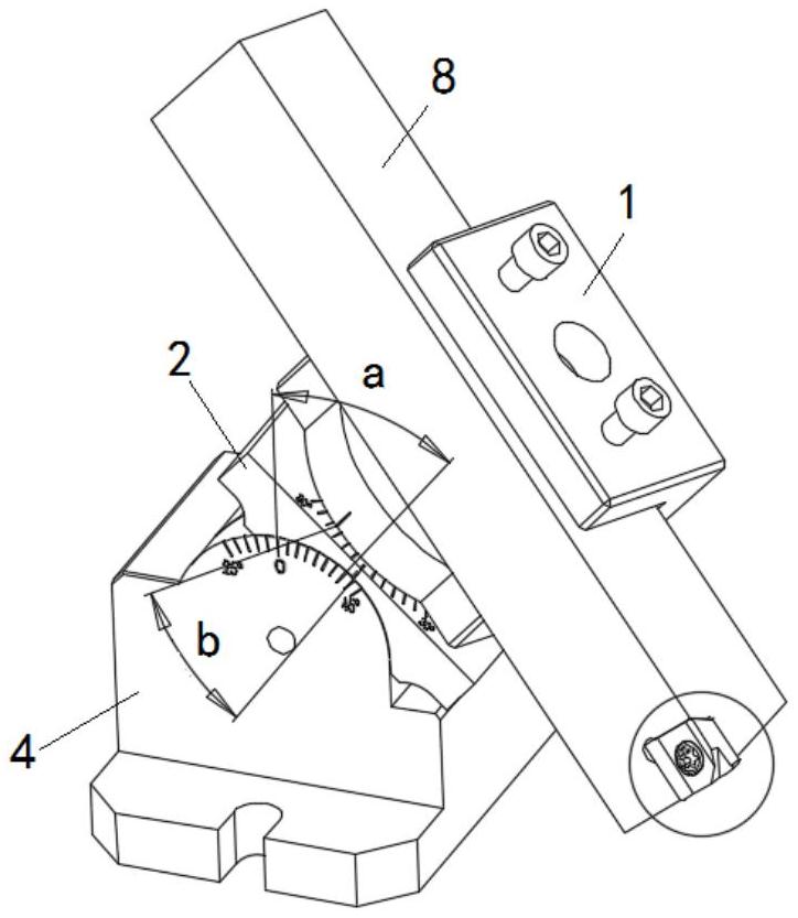
cn213104954u_一种用于线切割机床加工pcd机夹刀片槽的工装夹具
图片尺寸724x833
跪求大师~~~diy刀具 有图纸
图片尺寸600x522
刀具工程图
图片尺寸820x610
电火花线切割机床3b编程作业答案
图片尺寸403x346