线条灯结构

一种出光均匀柔和的新型led线条灯
图片尺寸1680x1346
led室内线条灯,办公照明线形灯吊线灯无
图片尺寸652x798
神灯奖:led线条灯
图片尺寸730x632
线性灯该怎么设计
图片尺寸790x1578
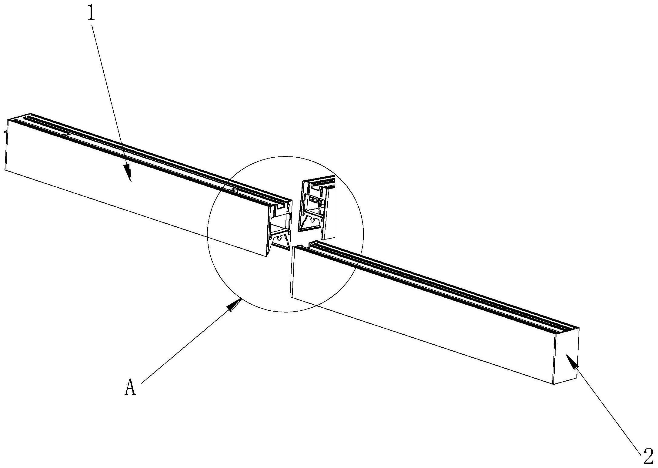
嵌入相邻的两个灯体的内部并卡扣连接在两个灯体上;以上结构的拼接
图片尺寸2103x1005
一种隐蔽走线易安装的线条灯的制作方法
图片尺寸512x1000
神灯奖:led线条灯
图片尺寸891x598
木普森磁吸轨道灯嵌入式暗装线条灯家用无主灯设计客餐厅led吊线明装
图片尺寸800x800
一种结构防水线条灯制造技术
图片尺寸657x1000
一种防水户外线条灯-爱企查
图片尺寸800x420
公端盖,电源支架,锁头,灯板,锁扣,灯罩,电源,电源连接线和支撑架结构
图片尺寸2171x1544
led线性灯铝槽灯条形灯铝合金墙面安装设计 线条灯长条线形灯带
图片尺寸1187x351
cn207962202u_一种线条灯有效
图片尺寸2678x1531
一种教室灯的制作方法
图片尺寸1000x998
但是,目前的线条灯的设计结构,使得灯珠的发光角度不够大,不能满足
图片尺寸1000x700
线性灯该怎么设计
图片尺寸1080x729
cn1146237a_带反光罩的白炽灯失效
图片尺寸2000x1899
cn211203782u_一种结构防水线条灯有效
图片尺寸1000x546
一种led线性灯制造技术
图片尺寸1000x902
一种防水线条灯的制作方法
图片尺寸1000x823