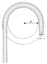
线管弯曲半径示意图

弯曲半径
图片尺寸1134x636
管子的曲率半径的是什么啊
图片尺寸660x343
管材最小弯曲半径
图片尺寸1791x467
弯头弯管的曲率半径究竟是外径的倍数还是公称直径的倍数
图片尺寸800x549
电缆推荐最小弯曲半径的重要性您了解吗?_宁波电源线厂家
图片尺寸510x264
曲率半径r的大小是根据工程需要决定的,一般会用
图片尺寸471x314
hb4-55-2002 导管弯曲半径
图片尺寸832x1152
cn201561224u_大口径小弯曲半径弯管有效
图片尺寸1868x1704
Φ460(外径)钢管的弯管,弯曲半径(中心线)是多大?
图片尺寸702x508
弯头直径和弯曲半径是指的那里,我是新手
图片尺寸450x313
弯管工艺中管子尺寸定义
图片尺寸720x646
7)暗敷设时管子弯曲半径要大于管外径的10倍(如上图);明敷设时管子
图片尺寸455x304
展开全部 按管道直径为d,90度弯头内壁中心半径1倍d
图片尺寸720x470
弯管半径
图片尺寸422x258
弯曲半径
图片尺寸208x220
同轴电缆的最小弯曲半径是多少?
图片尺寸1189x774
安装线管和线盒 1,线管的弯曲半径 配管弯曲时采用穿引弹簧弯管弯曲
图片尺寸375x339
任意弯管是指任意弯曲角度和任意弯曲半径的弯管.
图片尺寸902x311
图1弯曲半径
图片尺寸193x260
管子的两端中心线问的距离d等于两倍弯曲半径r.
图片尺寸288x350