线锯原理

线锯和带锯均有单刃和多刃的切割机,多刃的切割机用于成批生产.
图片尺寸450x327
电沉积金刚石线锯装置的研制
图片尺寸1800x1792
金刚石线锯切割技术与硅基太阳能电池流程
图片尺寸514x359
曲线带锯机工作原理及锯切时锯路的形成
图片尺寸640x622
cn1608775a_钢丝传动的曲线锯失效
图片尺寸709x499
cn101861230a_利用线锯的工件的切断方法及线锯有效
图片尺寸2388x1606
曲线锯头部特征曲线锯正面特征曲线锯反面特征曲线锯整
图片尺寸820x418
cn107433364a_线锯机有效
图片尺寸2679x1666
曲线锯改造成电动线锯,拉花锯
图片尺寸800x505
cn101528397b_马达驱动的往复式锯,特别是往复式曲线锯有效
图片尺寸1203x1394
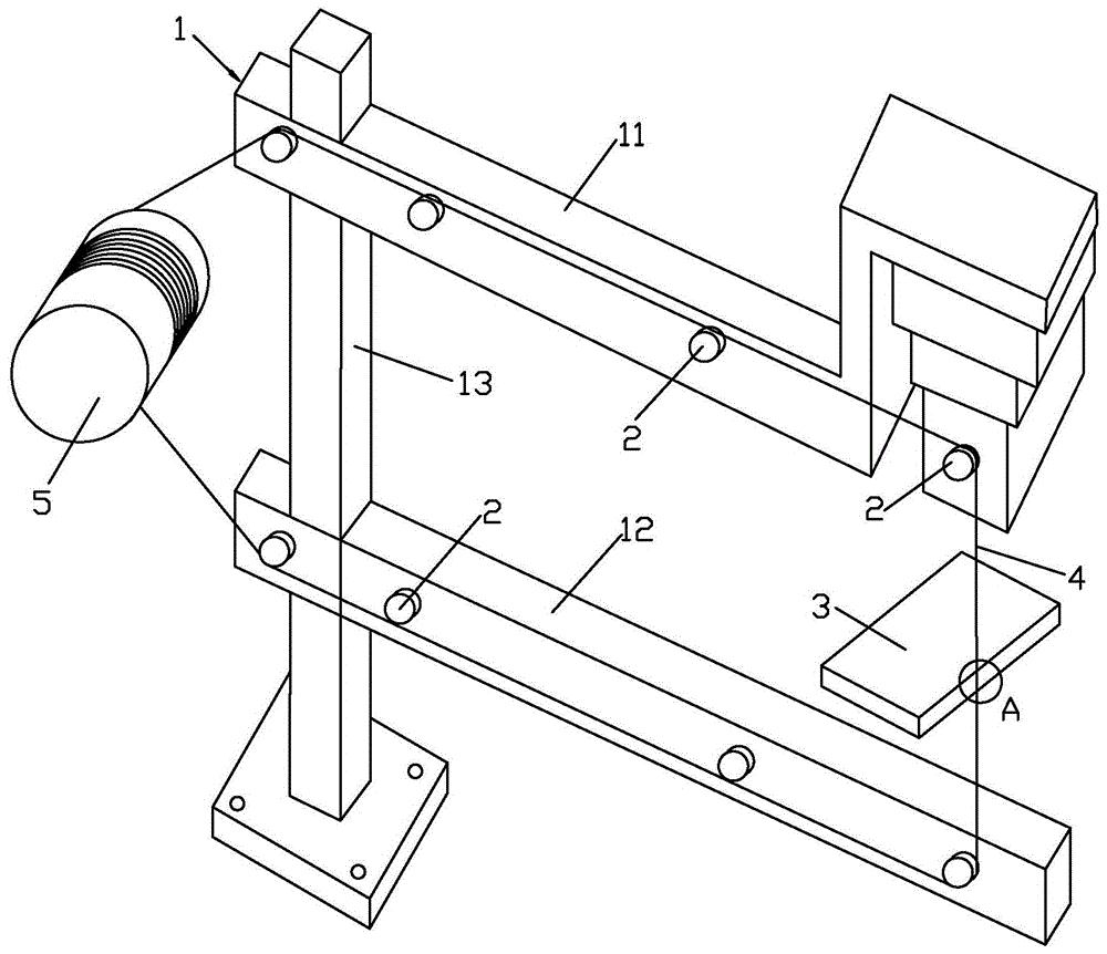
一种晶片加工用的线锯装置制造方法及图纸
图片尺寸1000x768
cn109773293a_电火花线切割-金刚石线锯复合加工装置
图片尺寸1000x862
线锯机的制作方法
图片尺寸875x1000
cn1312144a_驱动轮和使用驱动轮的线锯设备及切割方法失效
图片尺寸845x945
cn104625222a_一种电圆锯在审
图片尺寸1000x833
线速度对金刚石线锯及硅片表面质量的影响_真空技术_新闻动态_深圳市
图片尺寸709x255
线锯和带锯均有单刃和多刃的切割机,多刃的切割机用于成批生产.
图片尺寸450x263
线锯
图片尺寸772x666
手工钢丝锯 线锯木工diy手动曲线锯 迷你拉花锯家用小u型锯子工具
图片尺寸800x800
一种金刚石线锯在线检测装置
图片尺寸1847x1565