经济器结构

一种调节功能的筒式经济器的制作方法
图片尺寸444x315
cn107677016a_经济器在审
图片尺寸1659x1491
空调系统空气侧经济器主要结构
图片尺寸540x385
制冷压缩机经济器的工作原理
图片尺寸353x338
经济器原理简述
图片尺寸424x178
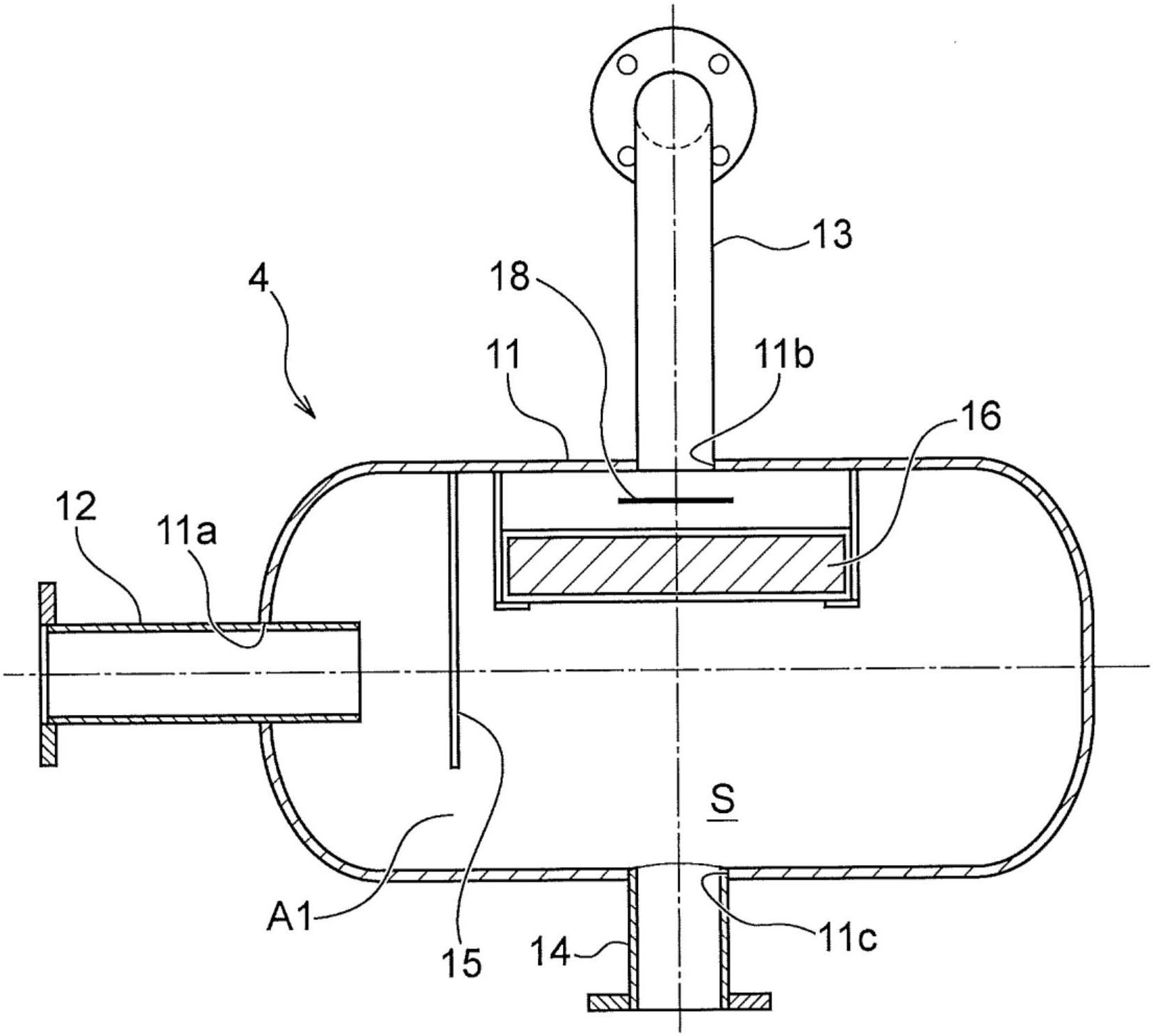
cn213454386u_一种低温螺杆机组经济器回气减震装置有效
图片尺寸1875x1364
高效筒式经济器的制作方法
图片尺寸260x377
经济器原理图.jpg
图片尺寸709x493
经济器的螺杆经济器
图片尺寸432x225
闪发式经济器已缴第3年年费
图片尺寸450x514
经济器以及离心式制冷机的制作方法
图片尺寸1000x908
经济器工作原理
图片尺寸920x1302
经济器阀后取液对比
图片尺寸640x348
一种低温螺杆机组经济器回气减震装置的制作方法
图片尺寸1000x726
经济器在螺杆式冷水机组中的重要作用
图片尺寸523x231
请问氨罐区螺杆冰机的经济器结构?
图片尺寸1003x460
为了提高压缩机效率,两级压缩中常使用制冷剂经济器.
图片尺寸642x474
我国的宏观经济机器是如何运行的及央行在其中扮演的主要角色
图片尺寸1537x983
经济器以及包含该经济器的换热系统的制作方法
图片尺寸1000x908
机器
图片尺寸1088x816