结晶器框架

十种常见的工业结晶器结构原理介绍,一次让你了解透彻!
图片尺寸485x571
结晶器窄边框架 结晶器框架 中兴成信 机械配件
图片尺寸1440x1440
结晶器内框架
图片尺寸750x568
一种铸锭结晶器的调节框架的制作方法
图片尺寸1506x1835
结晶器固定框架
图片尺寸300x225
静态结晶器
图片尺寸1863x2414
方坯连铸结晶器及冷却方法-爱企查
图片尺寸1667x2115
高盐废水循环蒸发结晶器 污水处理器
图片尺寸3120x4160
一种连铸结晶器振动框架滑动支座及安装方法与流程
图片尺寸526x371
一种连铸管式结晶器
图片尺寸1724x1861
一种波普瑞韦生产用结晶器的制作方法
图片尺寸336x443
超厚板坯结晶器模板-爱企查
图片尺寸956x805
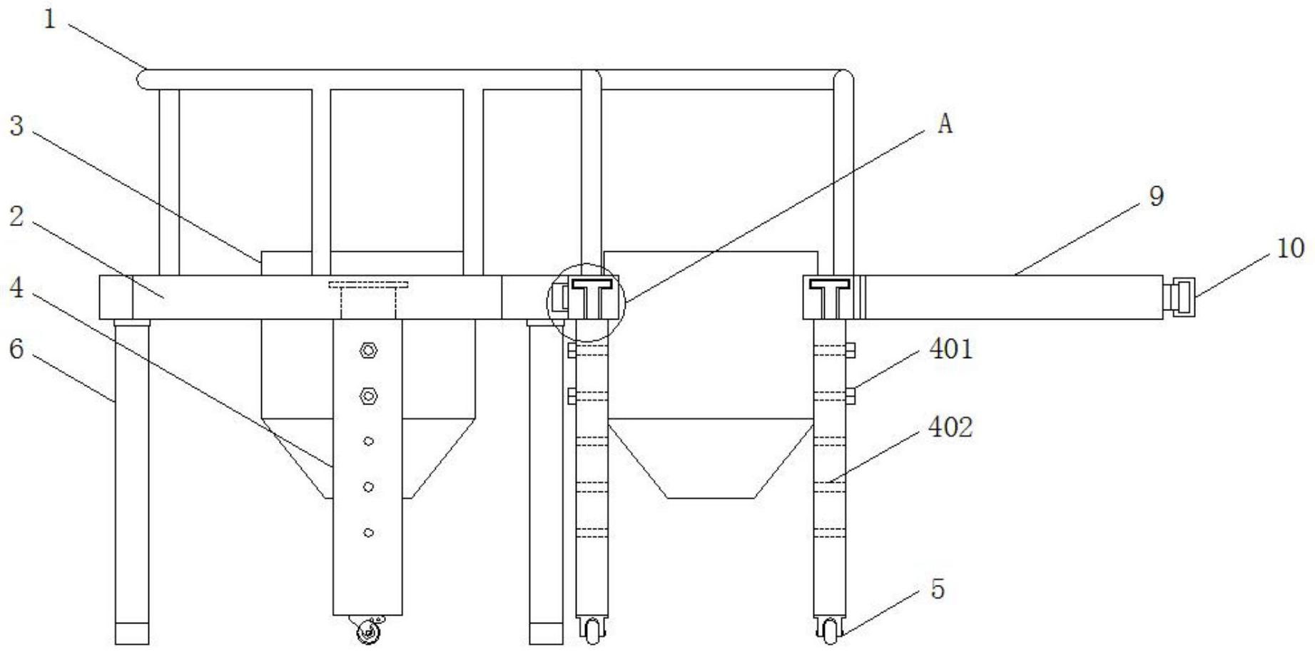
一种铸锭结晶器用具有调节结构的框架
图片尺寸1843x914
冶金设备结晶器振动框架橡胶接头"震动好帮手"
图片尺寸450x300
dtb结晶器
图片尺寸403x462
一种电渣炉结晶器集气吸尘装置-爱企查
图片尺寸1220x1348
结晶器
图片尺寸823x485
板式静态熔融结晶器_专有技术_普通文章_上海镐渭工业技术有限公司
图片尺寸600x450
弧形套管式结晶器
图片尺寸600x779
结晶器
图片尺寸1394x2110