结晶罐基本结构

一种生物碱结晶罐的制作方法
图片尺寸346x443
一种加料精准的中药结晶罐制造技术
图片尺寸725x1000
一种搅拌充分的结晶罐
图片尺寸761x1000
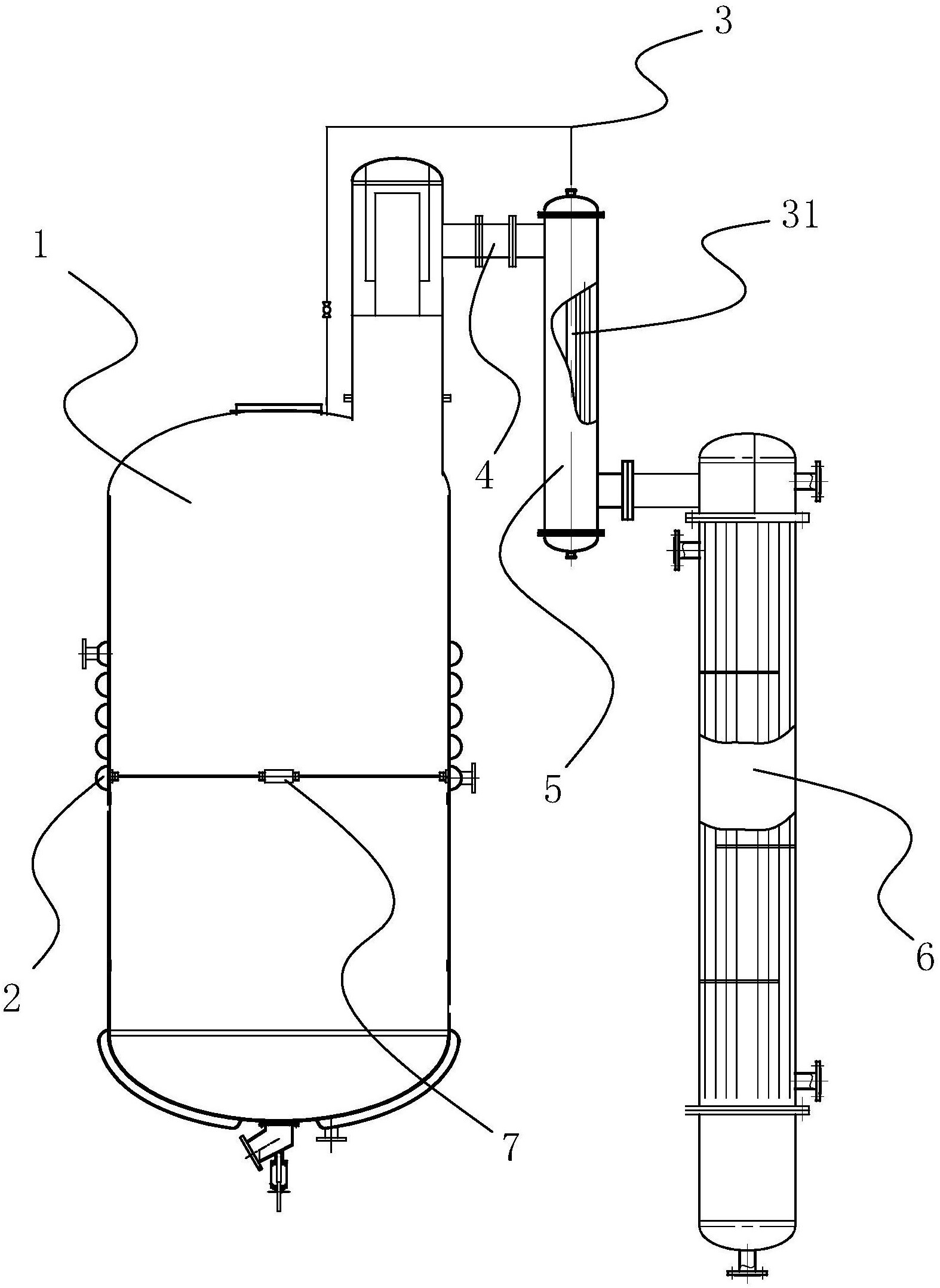
一种固液分离结晶罐-爱企查
图片尺寸1104x2016
热交换式氯化镍溶液结晶罐-爱企查
图片尺寸1574x2157
一种冷却结晶罐的制作方法
图片尺寸721x1000
cn102350082a_一种蒿乙醚用结晶罐有效
图片尺寸1617x2415
2000l不锈钢结晶罐
图片尺寸868x1227
一种结晶罐
图片尺寸864x1000
一种便于搅拌均匀的结晶罐
图片尺寸835x894
立式结晶罐
图片尺寸364x443
一种用于生产白藜芦醇的结晶罐的制作方法
图片尺寸848x1000
反应结晶罐-3000l
图片尺寸834x1152
一种味精结晶罐
图片尺寸654x891
一种多支管式结晶罐的制作方法
图片尺寸1000x756
一种搅拌结晶罐的制作方法
图片尺寸612x827
一种结晶罐的制作方法
图片尺寸891x1000
结晶罐总图
图片尺寸1200x800
一种冰糖生产用新型结晶罐的制作方法
图片尺寸972x1000
2000l结晶罐装配cad图纸
图片尺寸510x584