绕扣机使用图解

祈鑫绕扣机绕脚机绕钮机绕扣机绕钮机绕纽扣机缠脖机
图片尺寸800x800
两用型热熔绕扣机线普通线通用绕脚机纽扣机绕脖机纽扣绕线机 两用型
图片尺寸800x813
瑞锌瑞锌服装绕线机绕扣机服装绕纽机绕脚机服装绕纽扣机自动打结断线
图片尺寸800x800
373订扣机扭扣松线器扣脚绕线器gj4-2订扣子缠线器订扣子辅助工具
图片尺寸800x800
绕扣机绕脚机纽扣机绕脖机纽扣自动绕线机服装厂绕线出口品质顺丰
图片尺寸890x890
cnc绕线机操作说明
图片尺寸920x690
绕扣绕脚绕钮机自动绕机绕钮机纽扣机缠脖机自动绕扣机
图片尺寸800x800
双面呢大衣扣子绕扣机绕脚机绕扣机纽扣绕脚机 缠脖机 缝纫机
图片尺寸600x600
瑞锌 绕扣机专业线普通线通用绕脚机纽扣机绕脖机纽扣绕线机 红色单用
图片尺寸800x800
重机mb373钉扣机绕脚器 工业缝纫机钉扣机配件 maz-046010a0
图片尺寸750x750
373绕脚器组件maz-046010a0工业钉扣机372缝纫机1373松线垫块1377
图片尺寸800x800
工业缝纫机钉扣机配件 重机373绕脚器 绕角器 绕扣器maz-046010a0
图片尺寸1280x1280
机械皮带扣刹车皮带张力枪连接带电线电缆配件绞线机放线轴绕线
图片尺寸800x800
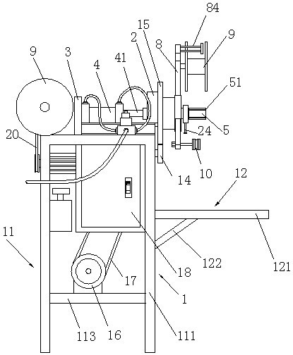
了一种消防水带扎扣机,包括机架,传动系统,夹持机构,线盘和绕线转臂
图片尺寸415x504
汽车玻璃升降器摇窗机卷丝筒绕线轮圆盘卡扣适用大众宝马斯柯达
图片尺寸750x750
放线架刹车皮带张力枪连接带电线电缆配件绞线机皮带扣放线轴绕线
图片尺寸800x800
适用于大疆dji fpv飞行眼镜v2电池背夹挂扣钩绕线器保护壳无人机
图片尺寸800x800
00 市场价:¥ 韩国纽王st-10绕扣机,绕纽机,缠膊机,西服,夹克,衬衣绕
图片尺寸1920x1440
00 市场价:¥ 韩国纽王st-10绕扣机,绕纽机,缠膊机,西服,夹克,衬衣绕
图片尺寸1920x1440
长期销售供应绕扣机 纽扣绕圈打结机 热熔全自动绕扣机
图片尺寸544x960