绞吸泵原理

自吸泵的工作原理是什么
图片尺寸828x874
双吸泵一般适用于工厂,城市,矿山,农田,水利工程等领域,因此它的用途
图片尺寸632x554
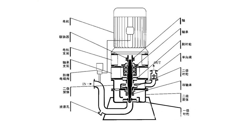
立式自吸泵结构:其工作原理是:在水泵运转前,在泵腔内存有一定量的水.
图片尺寸778x487
自吸泵工作原理图
图片尺寸501x471
大型泵站虹吸系统基本结构
图片尺寸3312x3091
抽酸泵_输送泵_上海泰通阀门有限公司
图片尺寸531x512
双吸泵基础知识
图片尺寸893x548
fzb氟塑料自吸泵|耐酸碱自吸泵
图片尺寸695x457
自吸泵zx卧式单级自吸泵清水自吸泵不锈钢自吸泵卧式自吸泵防爆自吸泵
图片尺寸714x387
lzb-l型氟塑料自吸泵
图片尺寸740x627
fzb系列氟塑料自吸泵安装示意图
图片尺寸555x398
气液混合式自吸泵的原理及自吸流程
图片尺寸349x367
微型水泵 50g三角洲自吸水泵 纯水机水
图片尺寸750x525
供应zx清水自吸泵/自吸泵选型
图片尺寸624x348
自吸离心泵能自吸的工作原理
图片尺寸689x525
厂家生产125wfbb多级无密封自控自吸泵大流量家用自吸泵加工
图片尺寸790x409
byzxb型氟塑料合金耐酸自吸泵价格
图片尺寸610x425
zx高吸程自吸泵
图片尺寸600x509
自吸泵工作原理图
图片尺寸421x355
一种下潜式吸鱼泵的制作方法
图片尺寸840x1000