继动阀结构图

差动式继动阀原理
图片尺寸920x1303
挂车的继动阀为啥会被冻住,被冻住了应该怎么办?
图片尺寸500x378
继动阀工作原理图解,继动阀管路安装图_车主指南
图片尺寸474x268
cn101372224a_电控感载紧急继动阀失效
图片尺寸2297x1816
cn201721442u_继动阀失效
图片尺寸1913x1908
一种双通快放继动阀
图片尺寸894x1000
空气继动阀结构图cad图纸
图片尺寸406x416
一种带调压功能的紧急继动阀制造技术
图片尺寸1000x817
常规制动阀类介绍 紧急继动阀基础知识
图片尺寸640x480
能自动转换的汽车制动紧急继动阀
图片尺寸550x449
继动阀的组成结构部件有哪些?
图片尺寸480x300
武装挂车制动安全瀚德紧急继动阀介绍图片列表
图片尺寸550x394
一种新型继动阀的制作方法
图片尺寸442x444
气动继动器工作原理介绍-上海仪欣阀门有限公司
图片尺寸358x334
中继阀原理:根据白动制动阀控制的均衡风缸压力变化,控制列车管的充
图片尺寸350x350
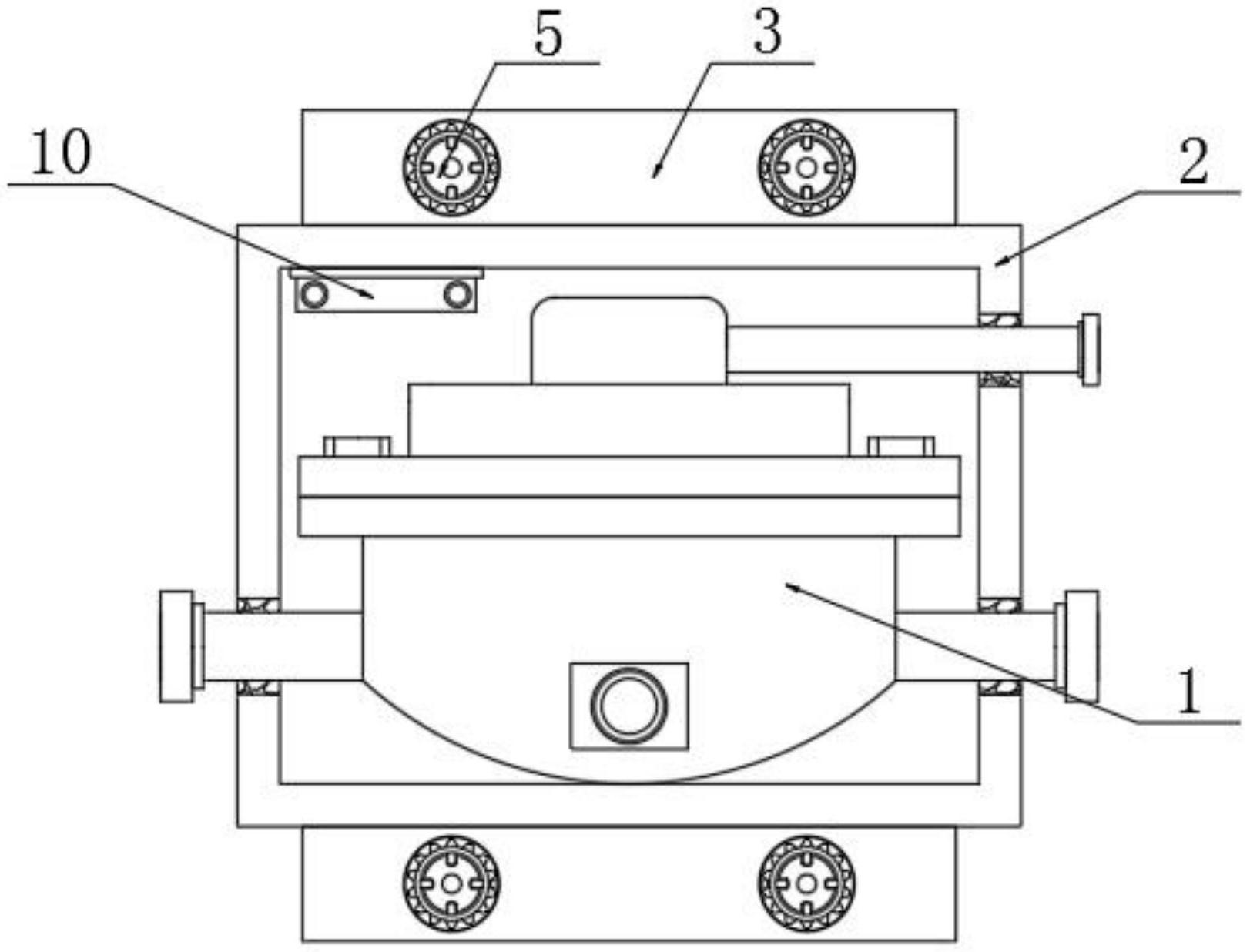
一种基于电控气压制动系统的继动阀结构-爱企查
图片尺寸1623x1236
知识 配件知识 继动阀的作用是使压缩空气不流经制动阀,而是
图片尺寸439x375
挂车紧急继动阀静待性试验方法
图片尺寸554x403
zsqp,m,q气动活塞式切断阀-气动活塞调节阀产品展示-上海牛城泵阀制造
图片尺寸787x413
一种crh380系列动车组中继阀的筛查方法技术
图片尺寸1000x982