缆索吊装结构图

2011一级建造师《公路》讲义:桥梁上部结构缆索吊装施工方法
图片尺寸545x278
拱桥缆索吊装塔扣一体化施工工法的制作方法
图片尺寸1000x290
46,讲义:桥梁上部结构缆索吊装施工技术
图片尺寸640x384![[贵州]高速公路大桥缆索吊专项施工技术方案](https://i.ecywang.com/upload/1/img1.baidu.com/it/u=175158939,1204552130&fm=253&fmt=auto&app=138&f=PNG?w=731&h=429)
[贵州]高速公路大桥缆索吊专项施工技术方案
图片尺寸731x429
山区缆索吊装系统方案设计与分析
图片尺寸1002x374
大跨度钢筋混凝土箱形拱桥缆索吊装系统的检验
图片尺寸1891x655
缆索吊装布置示意
图片尺寸560x312
拱桥缆索吊装布置示例
图片尺寸560x410![寿宁坪坑拱桥缆索吊装系统方案研究[j].](https://i.ecywang.com/upload/1/img2.baidu.com/it/u=1821262895,2311813018&fm=253&fmt=auto&app=138&f=JPEG?w=700&h=336)
寿宁坪坑拱桥缆索吊装系统方案研究[j].
图片尺寸700x336
福建标驰吊装工程有限公司|专业承接缆索吊工程
图片尺寸2173x944
悬索桥的缆索吊装装置及其使用方法制造方法及图纸
图片尺寸927x1000
悬索桥的缆索吊装装置及其使用方法
图片尺寸1261x1359
悬索桥缆索吊装施工工法
图片尺寸600x450
一种叠合梁斜拉桥主梁吊装施工缆索吊机系统技术方案
图片尺寸1000x582
梧州市西江四桥钢结构缆索吊装技术
图片尺寸2442x573
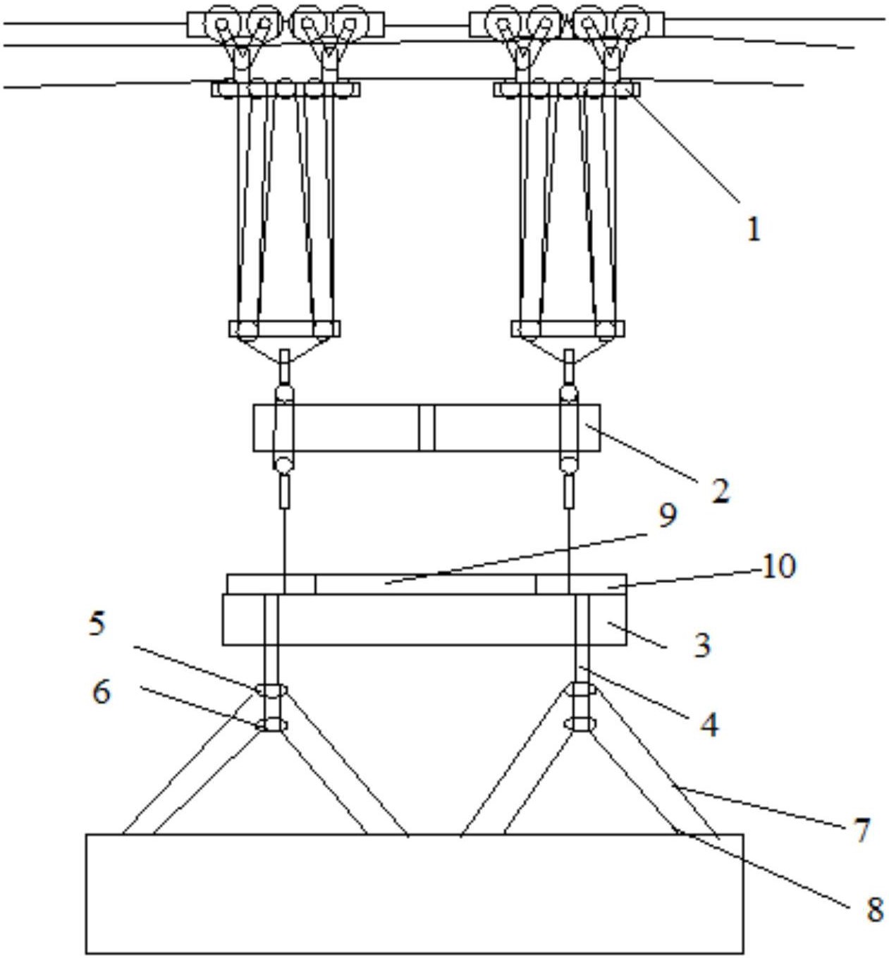
一种无索塔桥梁缆索吊装施工系统及施工方法与流程
图片尺寸1000x538
缆索吊装系统双向牵引自适应式跑马系统
图片尺寸890x1000
一种单塔缆索吊装的穿索方法与流程
图片尺寸1000x295
某卧落河大桥缆索吊装方案
图片尺寸404x289
岷江大桥缆索吊装施工 示意图
图片尺寸967x619