缆索吊装 示意图

195m跨钢筋混凝土拱桥多节段缆索吊装工法
图片尺寸1920x775
缆索吊装施工法
图片尺寸1080x550
高塔大吨位缆索起重机滑移施工工法
图片尺寸1048x319
缆索吊装施工法
图片尺寸700x336
大跨度钢筋混凝土箱形拱桥缆索吊装系统的检验
图片尺寸1891x655
46,讲义:桥梁上部结构缆索吊装施工技术
图片尺寸640x384
图片尺寸615x927
钢桥缆索吊装技术
图片尺寸2442x573
什么是缆索吊,缆索起重机,缆索式起重机,缆机,缆索吊机或工程索道
图片尺寸2198x929
广东省住建厅:粤建城〔2024〕242号
图片尺寸1080x1527
钢桥缆索吊装技术
图片尺寸2442x573
液压牵引与滚轮行走结合的缆载吊机及其行走方法
图片尺寸1086x1122
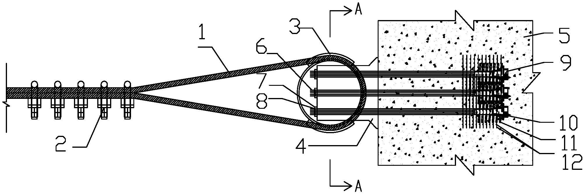
一种缆索吊装系统的主索锚固装置
图片尺寸2009x674
图11 主桥施工布置桥面系施工充分利用缆索吊装能力,首先在地面拼装场
图片尺寸640x203
请各位大神帮忙:关于钢筋混凝土拱桥缆索吊装系统监测的问题?
图片尺寸640x436
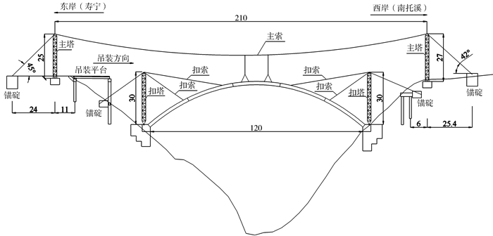
平南三桥缆索吊装系统试吊方案设计与实施
图片尺寸802x1193
大跨径重载缆索起重机
图片尺寸660x560
平南三桥缆索吊装系统试吊方案设计与实施
图片尺寸807x541
多跨连续拱桥双索跨缆索吊装施工工法
图片尺寸1514x387
1109 拱桥的缆索吊装施工ppt
图片尺寸1080x810