缸盖零件图

前缸盖
图片尺寸820x582
缸盖零件图
图片尺寸594x841
后缸盖
图片尺寸820x580
汽缸盖 a4图纸.dwg
图片尺寸1200x800
一种发动机缸盖吊具及锁止方法与流程
图片尺寸1000x800
零件图后杠盖机械加工工艺过程设计(后缸盖) 该零件是由内孔,沉头孔
图片尺寸594x841
手臂液压缸 缸盖
图片尺寸754x542
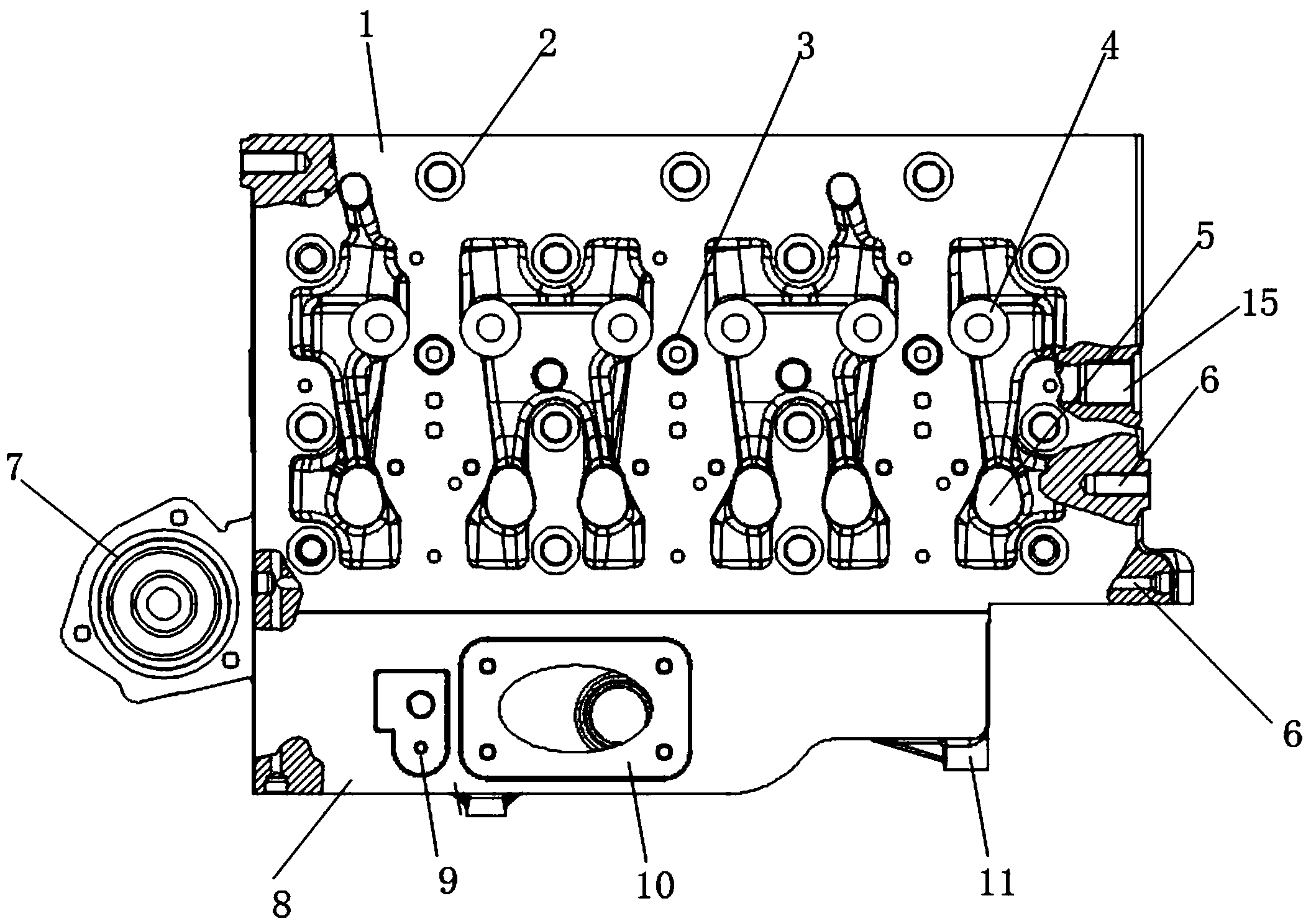
一种发动机的缸盖
图片尺寸2110x1489
0t缸盖垫
图片尺寸750x750
液压缸端盖加工工艺规程及专用夹具设计含cad图纸说明书
图片尺寸841x594
一种发动机集成式单体气缸盖专利_专利申请于2018-05
图片尺寸1866x1771
缸盖a122.dwg缩略图
图片尺寸840x594
yg80-40-100双作用双活塞杆式液压油缸cad图纸
图片尺寸819x560
前缸盖零件图a4.dwg
图片尺寸1200x800
前缸盖.dwg
图片尺寸1200x800
买入 汽缸盖 汽缸盖罩盖 为 volkswagen beetle 2006 rdw 汽车零部件
图片尺寸1776x2465
液压缸缸盖a3
图片尺寸820x580
发动机汽缸盖
图片尺寸621x590
气缸盖精确冷却方法与流程
图片尺寸1000x563
背景技术:发动机缸盖是发动机中最关键零件之一,其精度要求高,加工
图片尺寸504x305