罐体简图

卡通铁罐简笔画
图片尺寸398x500
手绘罐集素描罐和
图片尺寸800x691
单体罐子详细作画步骤
图片尺寸1080x1172
罐体排水装置及压缩空气罐的制作方法
图片尺寸400x443
cn108949550a_一种用于氨基酸生产菌种扩大培养的种子
图片尺寸1871x2362
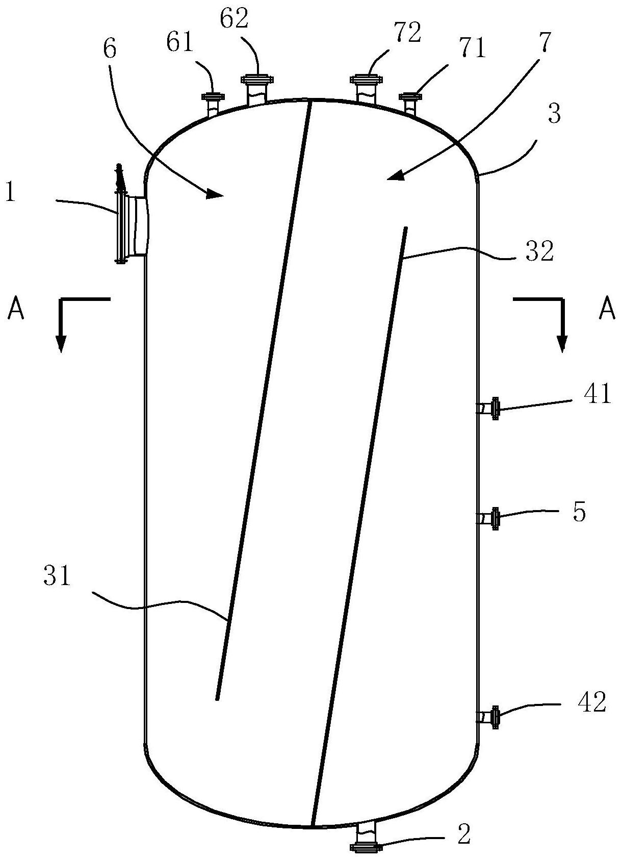
的顶部设置有与罐体内腔连通的压力表连接管和两个以上的接管及加料口
图片尺寸1624x2360
一种安全的不锈钢立式储罐,包括罐体,其特征在于:所述罐体为立式结构
图片尺寸720x1000
罐体结构图
图片尺寸372x500
一种食醋加工酒精发酵罐,包括罐体,顶盖和底盖,罐体配有冷却系统和
图片尺寸1755x2513
清酒罐的制作方法
图片尺寸754x1000
一种混合调配罐,包括罐体(1),进料口(3),出料口(12),搅拌桨(16),电机
图片尺寸890x1000
摘要附图摘要本发明涉及一种多级闪蒸罐,包括罐体,所述罐体内设置有
图片尺寸1222x1686
立式不锈钢储罐组装工程
图片尺寸403x346
cn208185878u_一种可移动式小型低温储罐有效
图片尺寸801x1000
包装储藏运输设备的制造及其应用技术
图片尺寸823x1000
cn206715726u_一种实验室用加热型配液罐有效
图片尺寸812x1000
当罐体内压力达到警戒值时,罐体内部的气压压力大于弹簧的弹力,气压带
图片尺寸512x800
一种耐压型糖果罐
图片尺寸824x1000
一种足球瓣式球形储罐,其特征在于:本球形储罐罐体的球壳划分类似足球
图片尺寸849x1000
钢衬塑储罐设计参考
图片尺寸980x650