罐车空压机拆解图

螺杆空压机,横立整套安装效果图.拿走不谢 - 抖音
图片尺寸1200x2652
空压机,#散装水泥罐车 #拆车件 拆车间空压机 - 抖音
图片尺寸1440x1920
工频螺杆空压机
图片尺寸4669x3368
炎热的夏天带来的一丝丝清凉#螺杆空压机 #散装水泥罐车 - 抖音
图片尺寸1280x1706
创作灵感 改装就这样贷款也得上,汉中罐车空压机改装.三点一 - 抖音
图片尺寸1440x1920
一种无油双缸空压机
图片尺寸1958x2644
全无油活塞式空压机-日立牌全无油活塞式空压机打气泵
图片尺寸278x287
皮带无油空压机的泵头
图片尺寸882x723
灰罐车
图片尺寸832x683
空压机后处理设备 (4)-空压机后处理设备-开山牌空压机钻机潜孔钻销售
图片尺寸728x800
美国寿力螺杆式空压机ls1030h
图片尺寸923x1048
拆解无油空压机头
图片尺寸1080x902
直联螺杆空压机sck75sa施耐德品牌
图片尺寸500x543
最标准的空压机管路系统图来了,你没看这样合理吗?#空压机 # - 抖音
图片尺寸1360x2576
空压机配套配件牙科电动无油压缩机泵头空压机机头制氧机配套机头
图片尺寸790x887
散装水泥罐车空压机配件 拆卸空压机摇臂拉马 空压机摆臂卸载神器
图片尺寸1080x1440
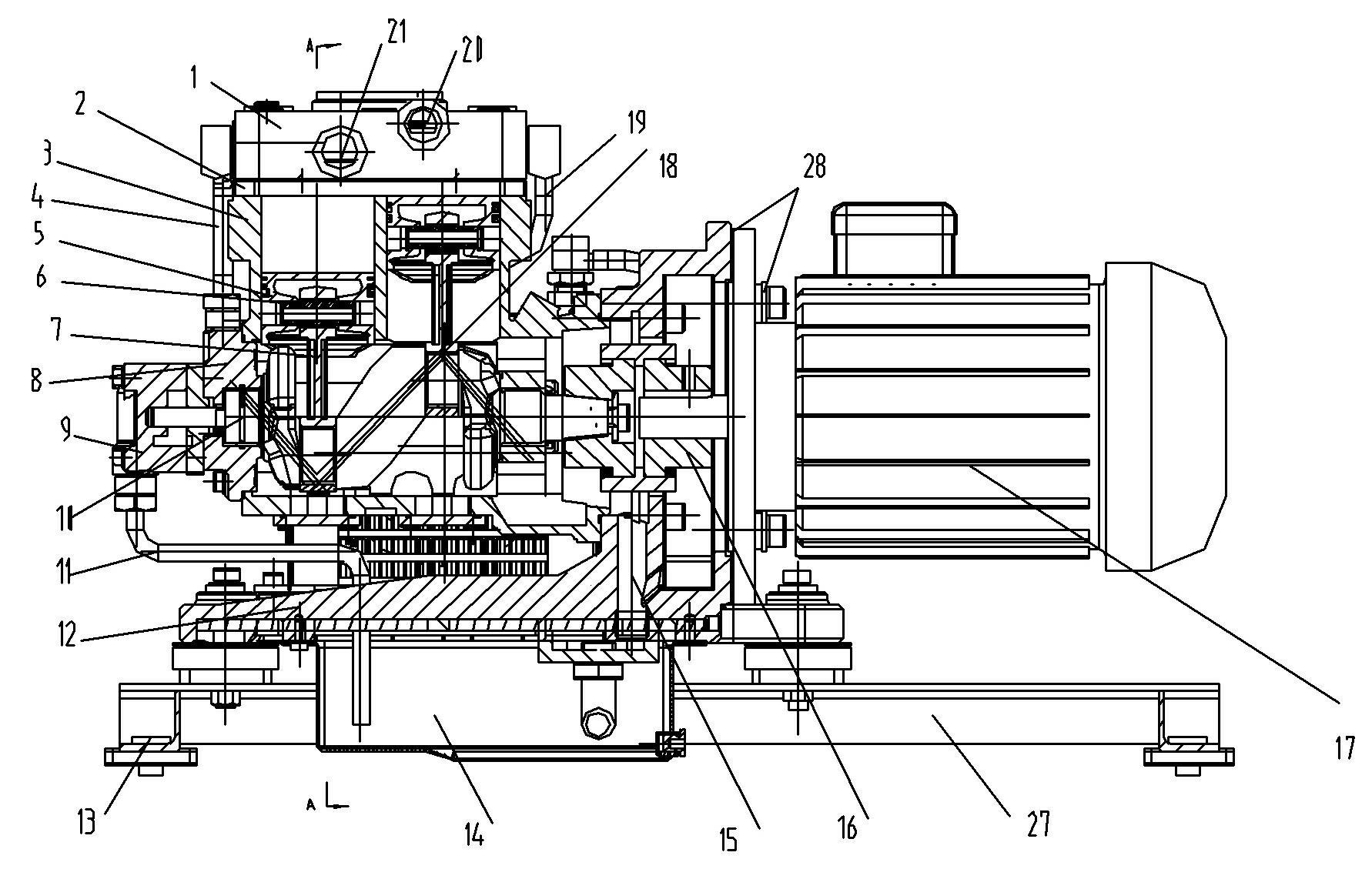
一种车用电驱动空气压缩机,气动系统和车辆
图片尺寸1782x1129
空压机维修手册1ppt
图片尺寸1080x810
螺杆式空压机工作原理及结构图详解
图片尺寸600x372
一张图,了解喷油螺杆空压机运行结构
图片尺寸532x390