网带炉结构图

一种连续式网带烧结炉的制作方法
图片尺寸1000x542
cn102620561a_燃气辐射管纵向安置的气电复合加热网带炉失效
图片尺寸2931x1182
一种网带式内置热风循环加热回火炉及其加热的方法
图片尺寸2012x799
网带式钎焊炉cad总图dwg图纸
图片尺寸1018x509
bcsf系列网带式烧结炉
图片尺寸1077x322
一种隧道式网带烧结炉
图片尺寸2452x1547
混合加热的网带炉的制作方法
图片尺寸1000x445
网带炉
图片尺寸553x212
网带炉示意图pdf图纸
图片尺寸882x399
2017-2022年中国网带炉行业市场发展深度调查及投资战略可行性报告
图片尺寸704x452
cn109114970a_一种分段控温式达克罗网带炉在审
图片尺寸390x575
吸附剂网带炉操作1.ppt
图片尺寸800x600
一种网带炉,多孔介质燃气燃烧器的制作方法
图片尺寸1000x342
一种用于网带炉的传输结构的制作方法
图片尺寸443x260
热处理炉隧道炉网带式热处理设备
图片尺寸820x309
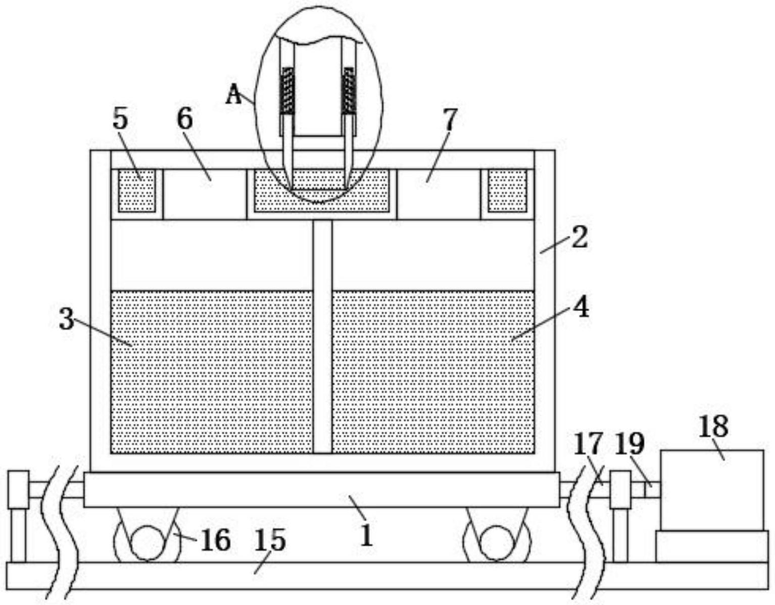
一种网带炉双淬火槽移动密封结构-爱企查
图片尺寸1534x1198
一种网带炉自动烧炭系统以及网带炉的自动烧炭方法与流程
图片尺寸1000x541
一种自循环冷却油水分离网带炉风机的制作方法
图片尺寸1000x951
一种网带炉双淬火槽移动密封结构的制作方法
图片尺寸1000x782
链条层燃炉结构图 - 环保图纸 - 沐风网
图片尺寸727x493