罗拉车零件图

一种自动罗拉车
图片尺寸1574x1933
工业鞋机缝纫机591/592电脑罗拉车铜管971自动剪线电脑罗拉车配件
图片尺寸1005x1353
一种用于将拉链缝制到鞋帮上的自动罗拉车
图片尺寸960x1000
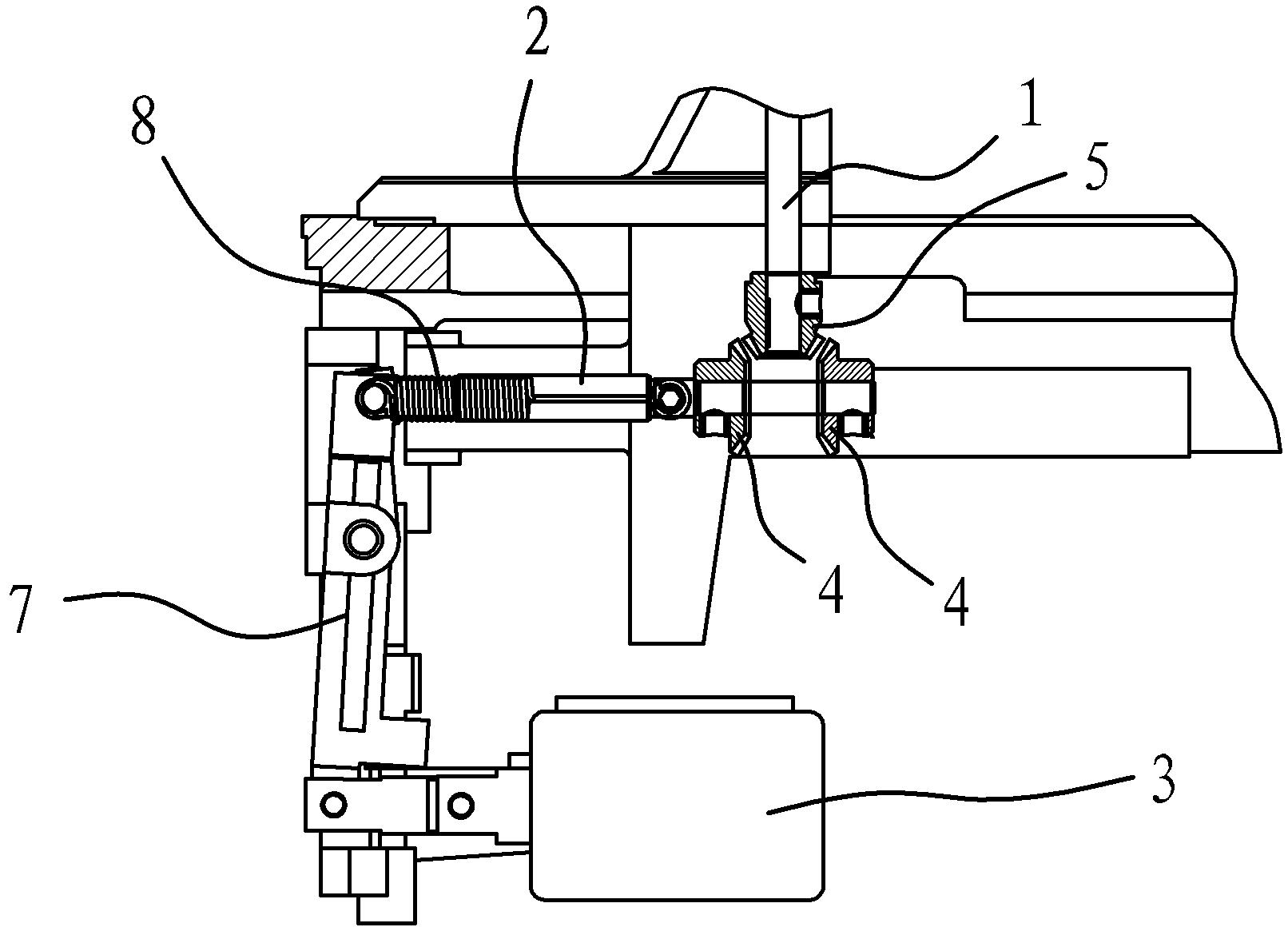
罗拉车正缝倒缝切换驱动机构
图片尺寸1612x1170
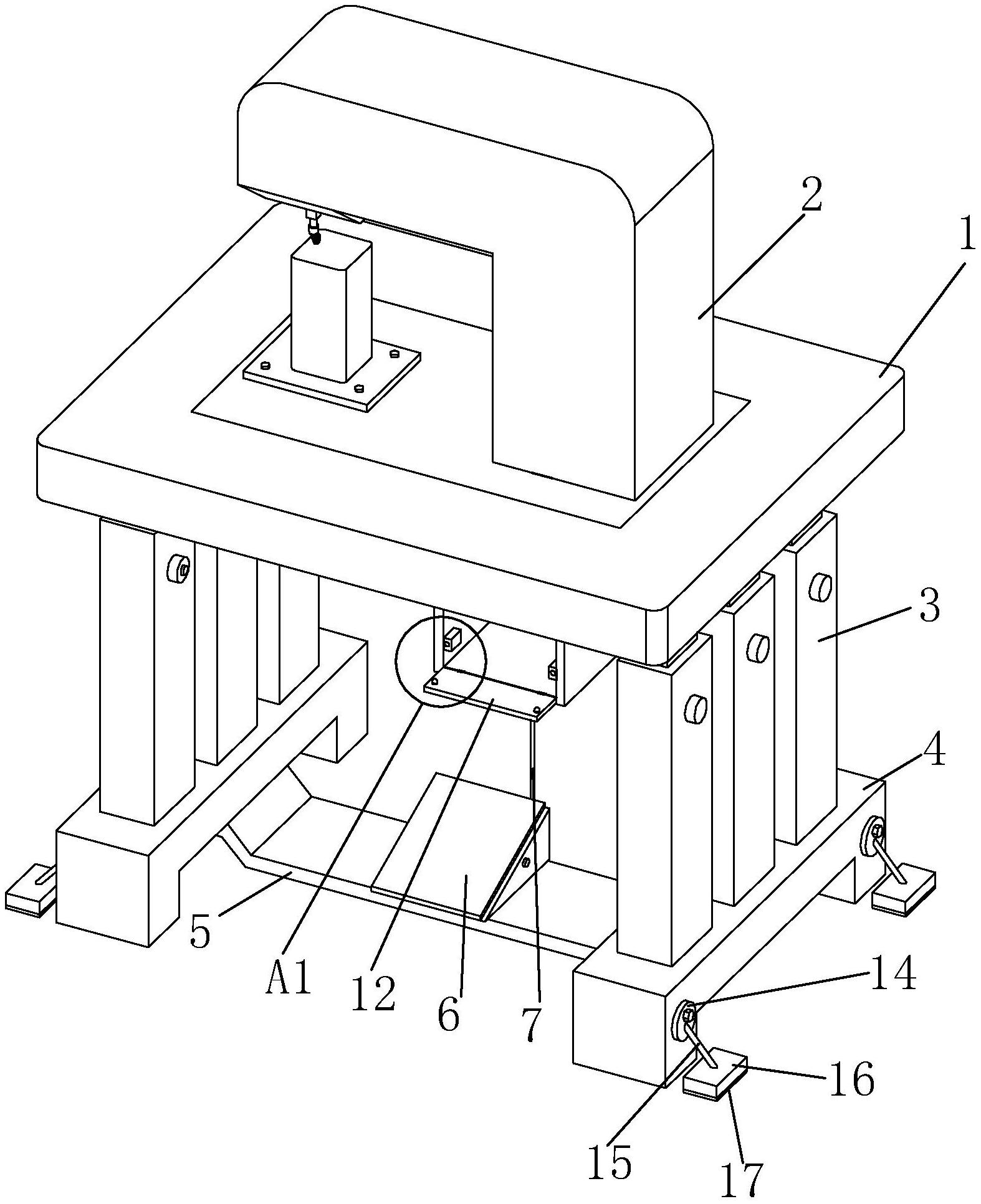
一种电脑罗拉车立柱的制作方法
图片尺寸974x1000
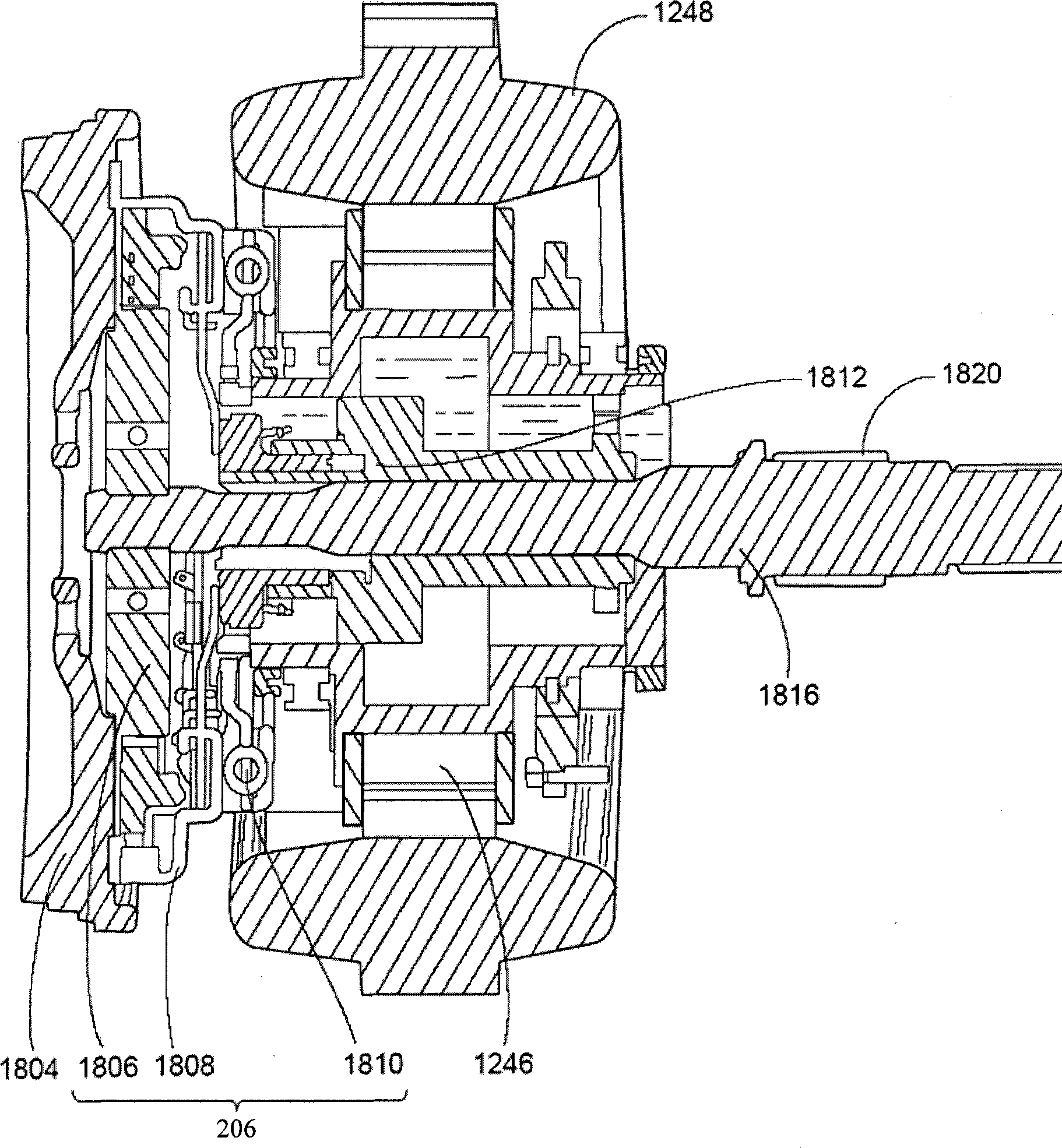
一种直驱罗拉车的制作方法
图片尺寸582x608
一种应用在电脑罗拉车的剪边装置的制作方法
图片尺寸1738x2007
罗拉车步进电机抬压脚的制作方法
图片尺寸1296x2697
〈太雅康培〉式罗拉刹的说明书
图片尺寸720x407
罗拉车一体机
图片尺寸1600x1616
一种电脑罗拉车的剪线装置的制作方法
图片尺寸1285x1320
一种超喂罗拉装置
图片尺寸800x591
2011一汽丰田卡罗拉电路图
图片尺寸1529x2251
无碳小车文件总成
图片尺寸4961x3508
一种电脑横机罗拉
图片尺寸1928x2040
nadella轴承nadella滚轮!nadella的滚轮为
图片尺寸1920x1440
第二十四章 汽车车身
图片尺寸574x499
一种混合动力汽车
图片尺寸1822x1970
图片尺寸1076x1299
广州直销满艺牌电脑罗拉车单针电脑车自动剪线带倒缝罗拉机my592
图片尺寸750x814