美缝机器人

电动美缝打胶枪美缝剂机器人胶抢双管打胶机器施工家用全自动清缝
图片尺寸790x1000
机器人装修时代来临:有住网1000台装修机器人明年投入使用
图片尺寸485x513
智能美缝机器人
图片尺寸3508x1107
智能美缝机器人
图片尺寸3508x2568
机器人铺地瓷砖
图片尺寸2667x2000
瓷砖铺贴机器人在武汉首次亮相
图片尺寸600x503
电动美缝打胶枪美缝剂机器人胶抢双管打胶机器施工家用全自动清缝
图片尺寸750x800
一种自动美缝机器人及其使用方法与流程
图片尺寸404x440
缝纫机器人相关标签搜索结果如下
图片尺寸640x477
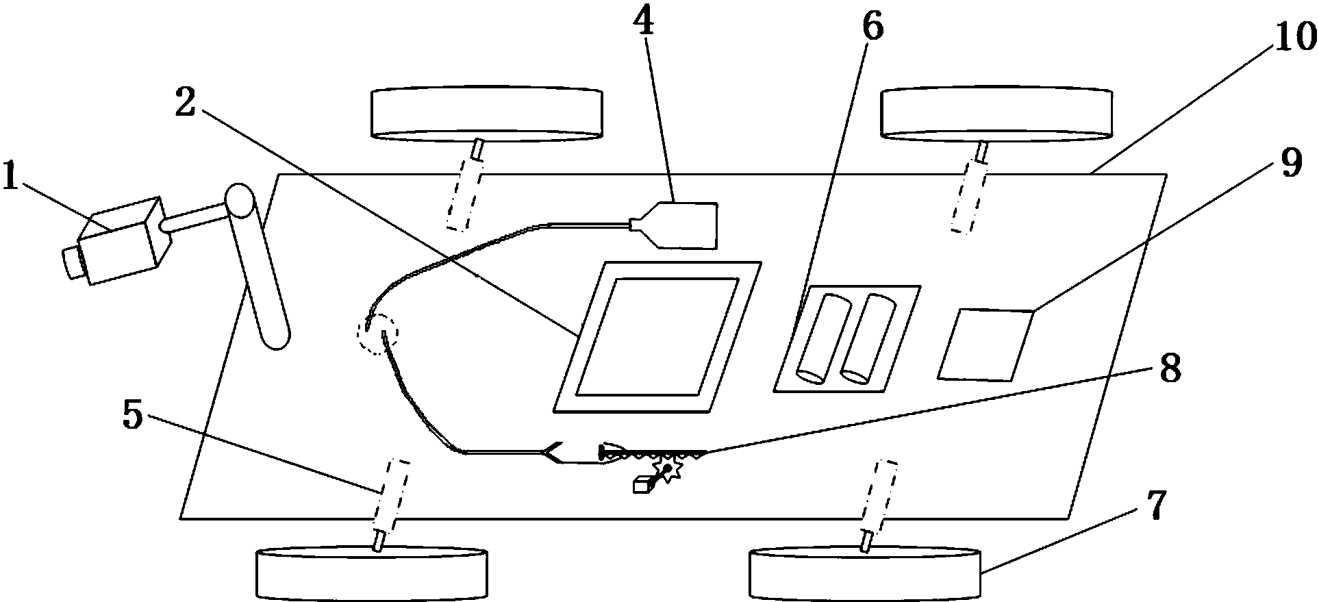
cn106930515a_自动循迹美缝填缝机器人在审
图片尺寸1926x879
美"半机械虫"刺探军情 间谍领域将掀起革命
图片尺寸500x375
上海53岁阿姨,因全屋"去家务化"装修而走红,入住后才知有多爽
图片尺寸640x665
浙江一位52岁阿姨因房子去家务化装修走红入住后才懂有多爽
图片尺寸640x853
cn109989561b_一种瓷砖美缝机器人
图片尺寸578x368
最好的状态是扫地机器人和洗地机一起入,一个星期5天用扫地机器人智能
图片尺寸907x1186
最好的状态是扫地机器人和洗地机一起入,一个星期5天用扫地机器人智能
图片尺寸1514x2024
卧室里的冷暖方案,很多人都会直接选择安装一台挂机空调,因为大家都
图片尺寸640x835
本身就存在着不稳定性;高脚式家具由于脚比较多,在用扫地机器人清理时
图片尺寸640x428
卫生间地面,我们一般都是铺瓷砖,然后瓷砖美缝.
图片尺寸640x853
上海53岁阿姨,因全屋"去家务化"装修走红了,入住之后才知有多爽
图片尺寸640x765