翻板折弯模具动画

负角折弯
图片尺寸448x252
钢丝折弯模具
图片尺寸820x528
折弯机模具示意图
图片尺寸1000x1414
钢丝折弯模具
图片尺寸820x721
折弯机模具图纸效果图
图片尺寸750x1244
折弯机模具材质数控折弯机模具淬火折弯模具单面快速夹具
图片尺寸790x1000
数控折弯机模具无压痕折弯机模具折弯模折边刀具捆条圆刀片淘宝网
图片尺寸281x371
关于 数控剪板机刀片,折弯机模具 结果1
图片尺寸774x1177
弯板弯曲模设计(cad proe三维) - 模具图纸 - 沐风网
图片尺寸300x225
大型折弯件翻板模
图片尺寸1033x680
折弯机模具/折弯机r模/折弯机刀片/折弯机刀具 专业制造非标订做
图片尺寸600x757
折弯机模具旷菱小编教你如何折弯
图片尺寸745x320
翻板无压痕组合折弯模具的制作方法
图片尺寸1000x590
模具常见问题及解决方法|折弯|冲模|冲孔|冲头|凸模_网易订阅
图片尺寸650x483
昆山机械刀片厂折弯机模具现货供应
图片尺寸600x757
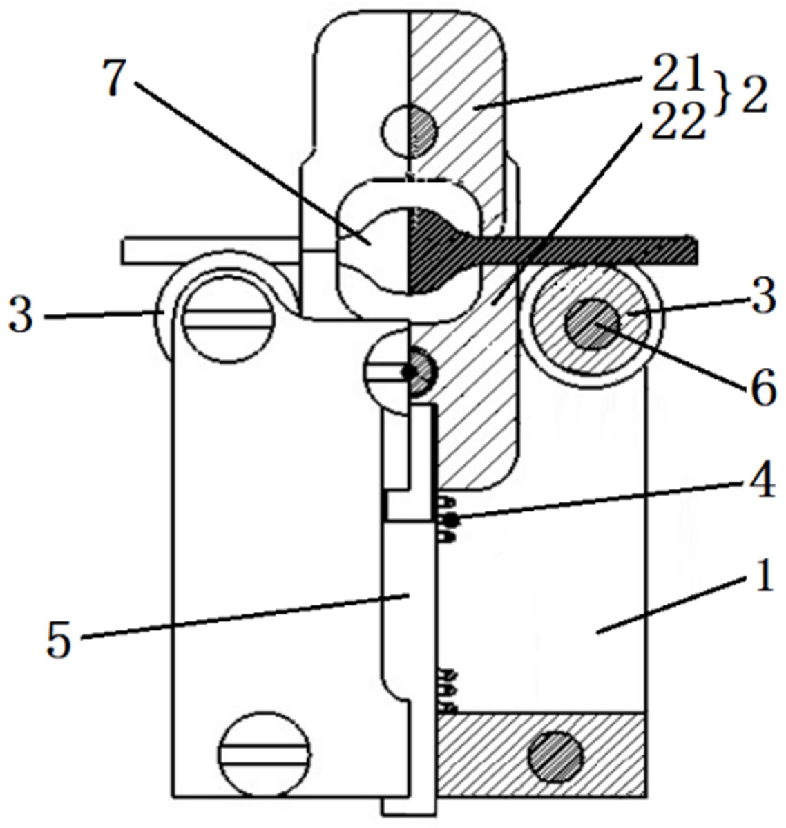
一种无痕翻板模具的制作方法
图片尺寸897x1000
昆明无压痕折弯机模具报价品质至上
图片尺寸600x600
折弯机模具示意图
图片尺寸353x335
翻板模折弯成形方法 翻板模使用场合:折弯高度高,折弯内r大,产品有较
图片尺寸468x229
一种二极管折弯模具-爱企查
图片尺寸1138x1198