翻转工装夹具设计

一种翻转夹具工装-爱企查
图片尺寸1938x1786
翻转式钻夹具的设计,适合杠杆臂加工
图片尺寸720x575
工件翻转夹具手动旋转机构
图片尺寸387x488
工件翻转夹具手动旋转机构
图片尺寸530x500
工装夹具.#产品设计 #建模 #工装夹具 #三维机械动画 # - 抖音
图片尺寸843x605
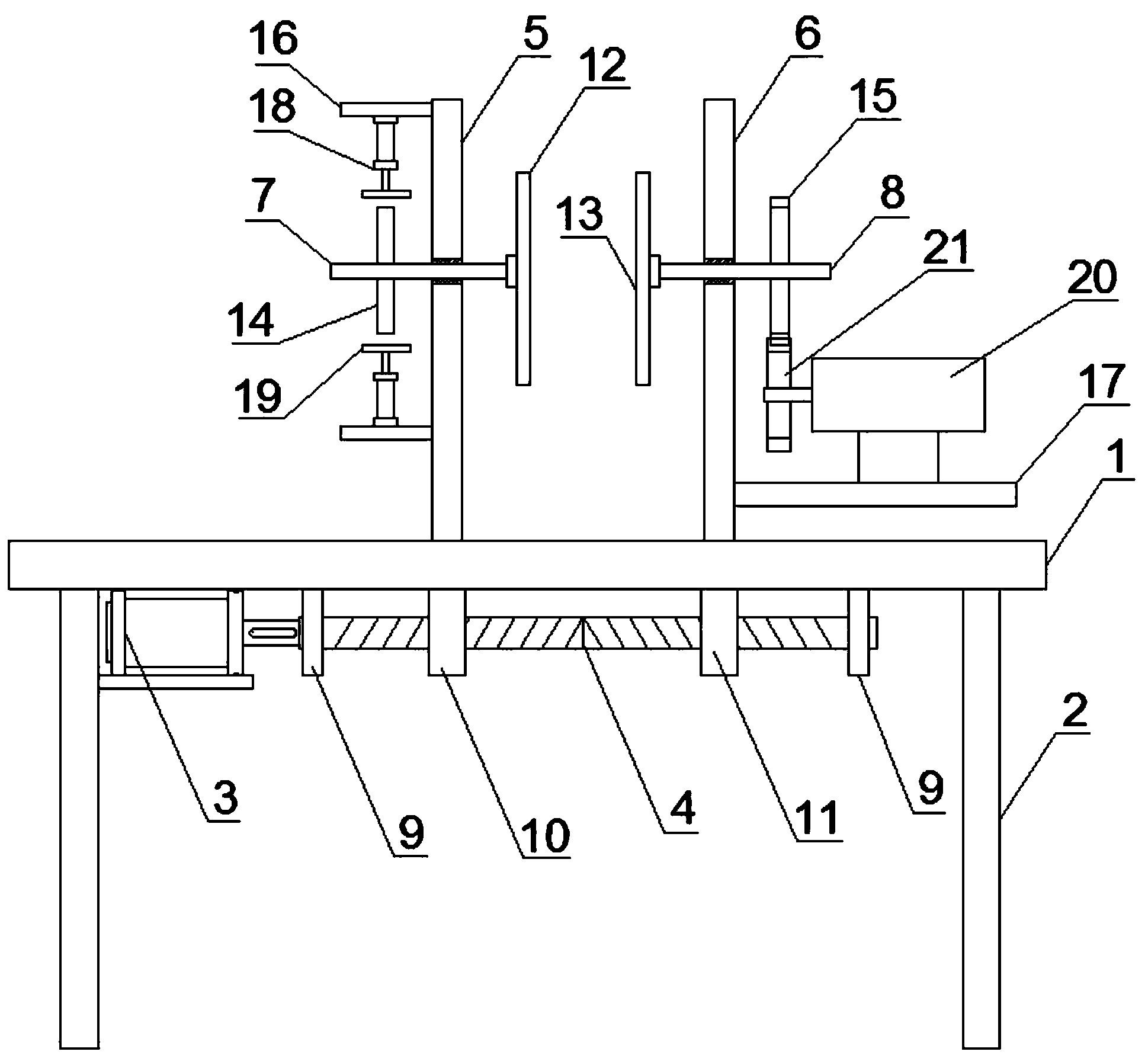
摘要附图摘要本实用新型涉及产加工夹具技术领域,具体涉及一种翻转
图片尺寸800x566
翻转旋转工装
图片尺寸517x706
该设计为一套完美的翻转工装,是一款在线体加工而设计出的一款
图片尺寸744x657
该设计为一套完美的翻转工装,是一款在线体加工而设计出的一款对夹
图片尺寸1100x676
一款旋转夹紧工装
图片尺寸495x478
该设计为一套完美的翻转工装,是一款在线体加工而设计出的一款
图片尺寸1100x674
用于进气歧管热嵌加工的夹紧翻转夹具
图片尺寸416x360
一种手动大型定子铁芯的翻转工装
图片尺寸1860x1360
旋转夹取工装
图片尺寸651x637
一种可翻转的工装夹具板机构
图片尺寸957x787
本实用新型的目的在于提供一种用于齿轮箱箱体摇臂钻床加工的翻转夹具
图片尺寸1515x1199
bmw白车身翻转补焊夹具 - 机械加工图纸 - 沐风网
图片尺寸622x740
工程科技 机械/仪表 杠杆臂翻转式专用夹具的设计 杠杆臂共有两组加工
图片尺寸400x344
工程科技 机械/仪表 杠杆臂翻转式专用夹具的设计 杠杆臂共有两组加工
图片尺寸400x341
自动夹紧治具 - 工装图纸 - 沐风网
图片尺寸820x650