翻转工装设计

动作:气动翻转变位机构. 非标自动化,工装夹具设计
图片尺寸982x694
90度翻转机构设计,如何处理设计细节?
图片尺寸1920x1080
180度翻转机构设计,电机翻转还是很简单的
图片尺寸1678x943
气动90°翻转取放料机构
图片尺寸1080x1920
这个翻转机构中真空吸盘的选型,你一定要搞懂
图片尺寸1130x797
一种焊接用翻转工装的制作方法
图片尺寸1278x1082
图片尺寸983x737
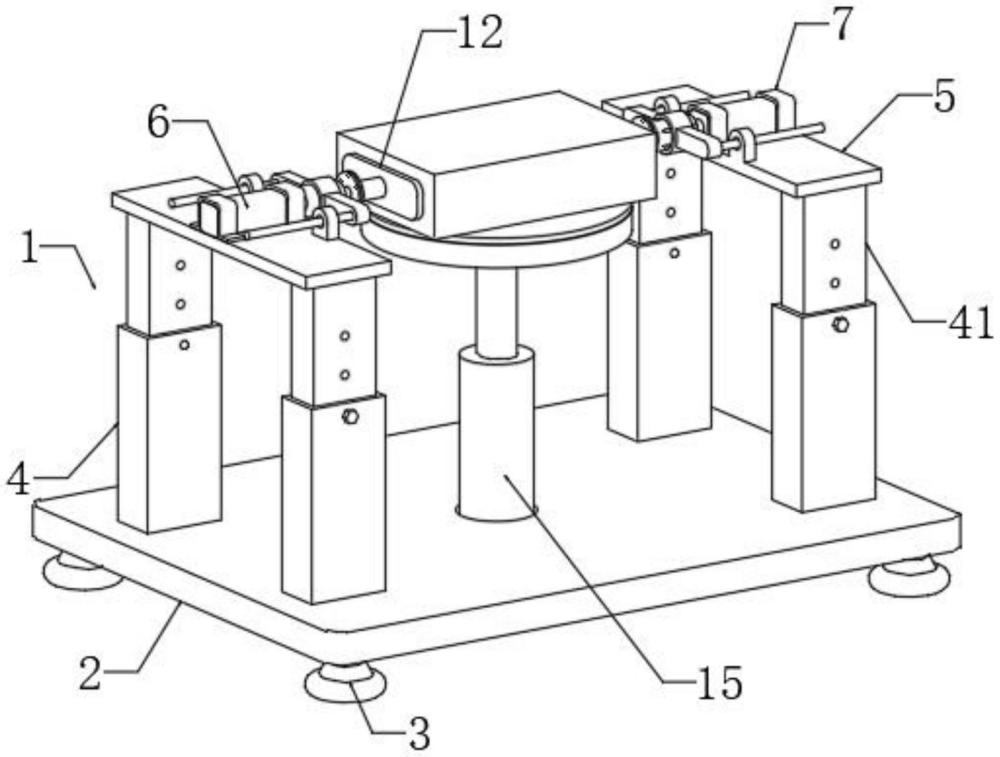
一种工件起吊翻转工装的制作方法
图片尺寸1715x2368
90度连杆翻转机构设计
图片尺寸1920x1080
180度翻转机构设计,简单好用,一起看看吧!
图片尺寸1080x1920
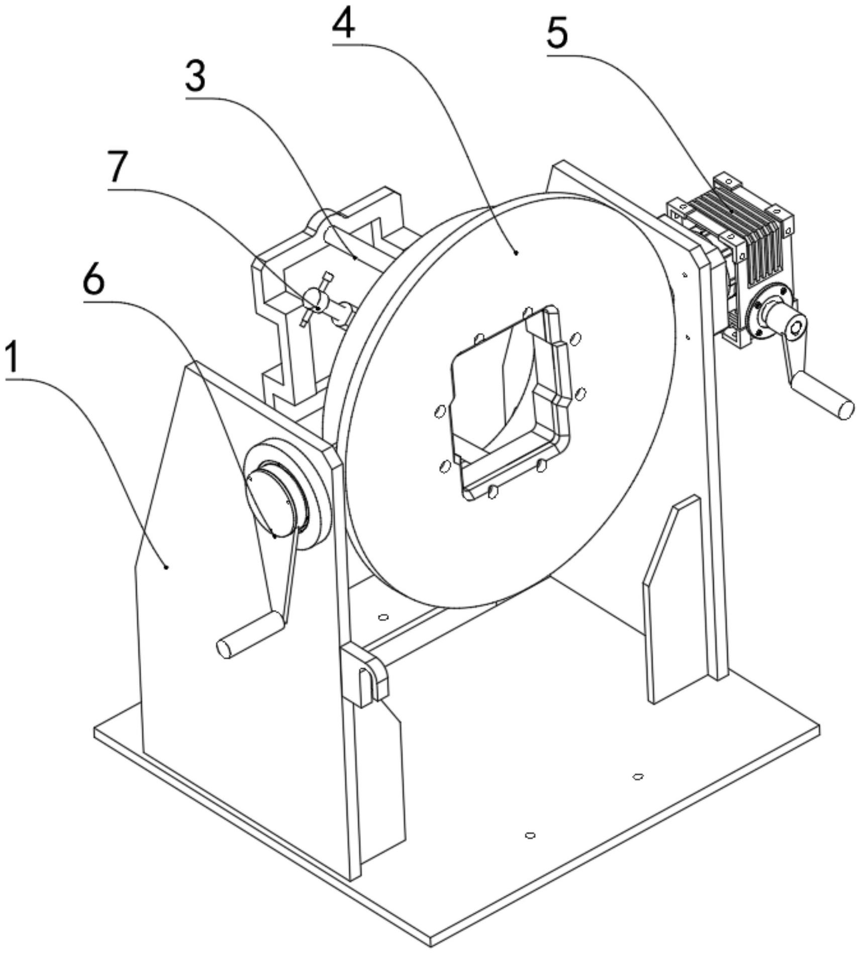
一种钩体检测用多向翻转工装
图片尺寸1711x1897
机械动态图 之 工件翻转夹具
图片尺寸1080x810
一种汽车零部件加工用翻转工装的制作方法
图片尺寸1180x1308
凸轮翻转机构设计,一个气缸实现两个运动结构,机械设计真巧妙
图片尺寸1478x924
骨架翻转工装
图片尺寸4160x3120
工件翻转装置及翻转方法与流程
图片尺寸1217x1267
90度翻转机构设计,一个气缸一根杆实现
图片尺寸1920x1080
90度翻转机构设计,连杆翻转可以省空间
图片尺寸1484x928
一种新能源汽车零部件翻转工装
图片尺寸1000x757
90度翻转机
图片尺寸720x960