翻页笔简笔画

翻开书本记笔记简笔画7675381矢量图片免抠素材
图片尺寸680x722
图片信息
图片尺寸794x637
翻页笔
图片尺寸800x600
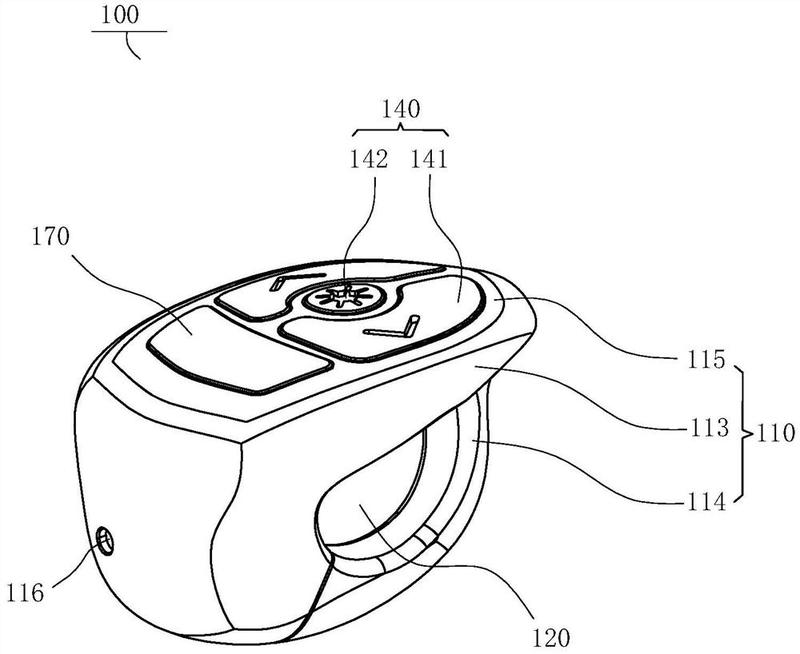
翻页笔-爱企查
图片尺寸800x654
卡通版龙简笔画教程.
图片尺寸900x1600
一支笔教你画一本翻页的书
图片尺寸640x1138
手翻书简笔画图
图片尺寸441x384
手翻画火柴人大战翻页书纸上大乱斗动画火柴人格斗简笔画i手翻书
图片尺寸1000x1000
教你画 翻页笔记本简笔画
图片尺寸900x600
人物翻书简笔画
图片尺寸500x333
人物翻书简笔画
图片尺寸889x500
翻书_全景网
图片尺寸670x401
激光翻页笔2
图片尺寸216x568
黑白简笔画关于书
图片尺寸500x400
幼儿翻书顺序简笔画
图片尺寸500x500
翻页书纸上大乱斗动画火柴人格斗简笔画手翻书格斗5q人物翻书简笔画
图片尺寸500x500
翻页的书简笔画
图片尺寸500x328
格斗1手翻书简笔画教程手翻画火柴人大战翻页书纸上大乱斗动画火柴人
图片尺寸251x500
多功能激光翻页笔
图片尺寸240x300
背景技术:相关技术中,电子产品例如无线翻页笔包括壳体,电子元器件和
图片尺寸1000x528