翼弦是什么

翼弦(几何 | 造船业)
图片尺寸640x480
图为:飞机翼弦示意图
图片尺寸640x207
翼弦
图片尺寸890x288
机翼理论ppt
图片尺寸1080x810
仪表飞行手册中文版(上) 相对气流:相对于翼型来说气流的流动方向
图片尺寸817x514
答:我们先来看一下机翼.
图片尺寸444x294
翼弦
图片尺寸53x34
解释 airplaneaircraftaerocraftaeroplane 重于空气的固定翼航空器
图片尺寸544x371
具有中间翼弦的分叉冷却腔室的涡轮翼型冷却系统的制作方法
图片尺寸903x1000
具有翼弦减小部的易碎燃气涡轮发动机翼型件
图片尺寸550x1000
翅膀的图片touch现在有四种飞行翅膀第一种是堕天使之翼(需蝶舞之翼
图片尺寸740x352
迎角α表示来流v∞与翼弦线的夹角,对机翼升力有重要影响.
图片尺寸488x303
机翼安装角------机翼翼弦与机身度量用的基准线的夹角
图片尺寸500x250
机翼的前进方向(相当于气流的方向)和翼弦(与机身轴线不同)的夹角叫
图片尺寸500x179
并且更具体地涉及具有偏移腹板以适应低轮廓翼弦设计内的配件或其他
图片尺寸737x1000
迎角就是机翼的翼弦(前缘点和后缘点的连线)与飞机前进方向所在的平面
图片尺寸640x525
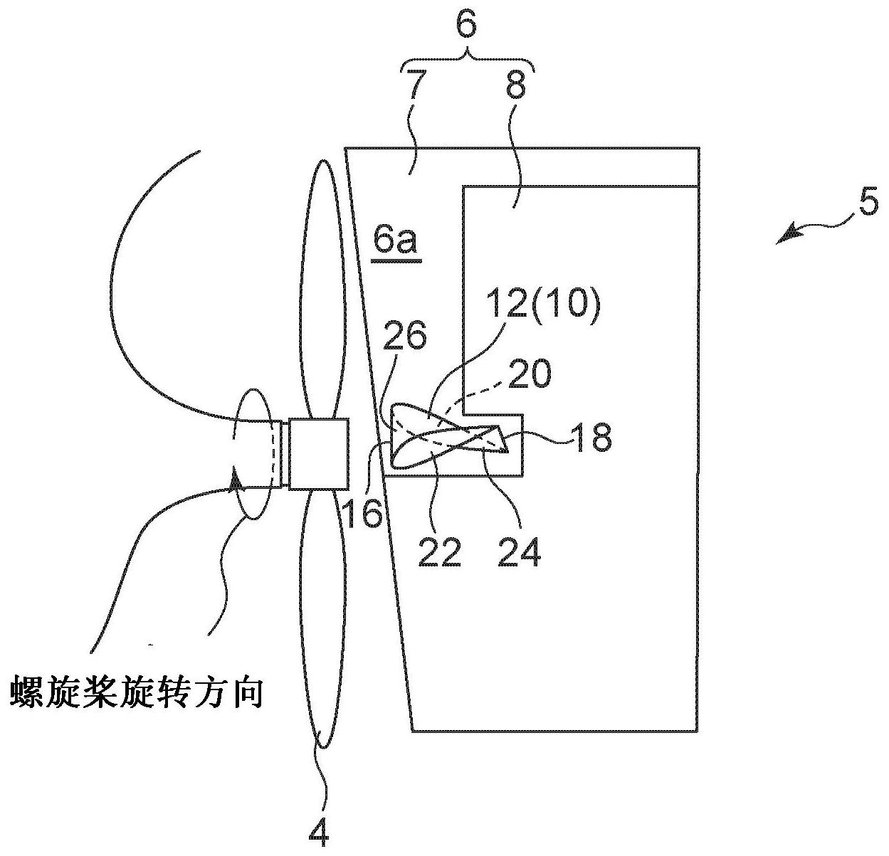
至少一方的侧面,所述拱曲反转鳍具有在前缘与后缘之间沿着翼展方向分
图片尺寸1249x1203
飞机那么重, 到底是靠什么飞上天的?
图片尺寸622x299
angle of attack 迎角,或者叫攻角,是飞机机翼翼弦线与飞机运动方向的
图片尺寸620x313
angle of attack 迎角,或者叫攻角,是飞机机翼翼弦线与飞机运动方向的
图片尺寸1080x304