翼闸内部结构图

三杆旋转闸 - 道闸翼闸系列 - 翼闸 - 产品展示 - 凯普是重庆自动门
图片尺寸539x431
一种加宽通道翼闸闸机
图片尺寸1000x769
广西桂林翼闸 大灯型红色翼闸板翼闸
图片尺寸657x583
一种通道闸机直驱翼闸机芯及通道闸机
图片尺寸1906x1700
翼闸的闸门安装结构
图片尺寸1565x1341
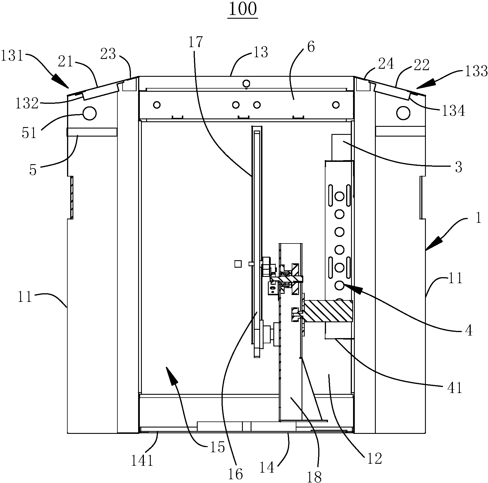
后立柱,固定盒,前端盖,后端盖,翼闸门,用于带动翼闸门转动的传动结构
图片尺寸770x1000
地铁高档翼闸
图片尺寸820x553
桥式圆弧翼闸
图片尺寸666x426
翼闸的闸门安装结构的制作方法
图片尺寸1000x858
很多人都说多奥的翼闸贵为何看这里您就明白了
图片尺寸706x484
刷卡翼闸 led工地闸机 地铁闸机 道闸
图片尺寸750x1138
高铁检票翼闸
图片尺寸522x473
智能识别通行翼闸及快速识别通行系统
图片尺寸1696x1680
亳州三辊闸 翼闸 摆闸 工地门禁 全高旋转闸 建筑工地劳务考勤系统
图片尺寸769x468
桥式直角翼闸
图片尺寸558x400
一种具有esd人体静电防护结构的智能无刷翼闸
图片尺寸444x371
海康威视 人行通道翼闸系列 ds-k3y302
图片尺寸681x547
自动查询机uiu-tcm3000,自动充值机cvm3000,半自动售票机bom3000,翼闸
图片尺寸750x530
桥式八角翼闸
图片尺寸668x430
八角翼闸三通道两台单机芯
图片尺寸1177x832