翼龙无人机图纸

步骤1 solidworks设计mq-1b 无人侦察机
图片尺寸1728x1080
mq-9 捕食者无人机 成功建模, 有时间试试造一架玩玩
图片尺寸650x464
一种垂直起降固定翼无人机-爱企查
图片尺寸1938x1166
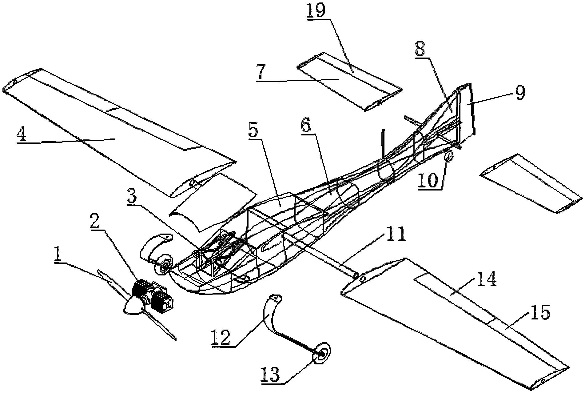
一种快速组装的无人机
图片尺寸1932x1700
而"翼龙"-2无人机的进击之路,只是"翼龙"家族的一个缩影.
图片尺寸672x1311
cn111762324a_一种药管翼梁一体的双翼式固定翼植保无人机
图片尺寸1622x823
翼龙无人机航模雕塑 建模拆分制作#军事模型 #军事模型厂家 - 抖音
图片尺寸1224x2085
试射空空导弹摧毁靶机美军死神无人机或变身战斗机
图片尺寸762x610
翼龙救灾无人机有啥黑科技
图片尺寸2879x1641
cn112339514a_一种水空两栖变翼式无人机在审
图片尺寸1845x1828
一种便于更换吊舱的高原作战无人机的制作方法
图片尺寸443x339
一种大荷载量固定翼无人机
图片尺寸1362x2162
一种方便搭载大尺寸载荷设备的固定翼无人机-爱企查
图片尺寸1902x1277
一种可倾斜摄影航测的固定翼无人机系统
图片尺寸2664x1333
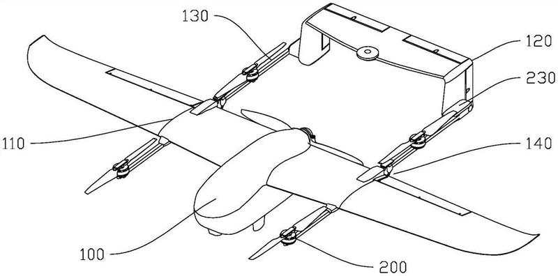
一种具有固定翼和多旋翼切换功能的无人机的制作方法
图片尺寸1000x579
四翼火情探测无人机设计-森林火情探测四轴飞行器结构设计【12 - 抖音
图片尺寸842x594
一种可折叠的固定翼无人机-爱企查
图片尺寸800x396
"翼龙"无人机 救灾多面手
图片尺寸673x471
"翼龙"-2首飞成功七周年,一起走近它的大家族|中航|无人机|李屹东
图片尺寸645x1148
一种机翼可旋转的无人机
图片尺寸2139x1795