考克阀原理图

考克是指旋塞式的小阀.
图片尺寸443x324
旭有机材asahiav考克阀实验阀
图片尺寸600x303
厂家直销文质丝口考克液位计阀/jx29w-16p/上海双高液位计针型阀
图片尺寸1000x1327
美国parker派克先导式比例换向阀的结构原理
图片尺寸1654x2339
阀门的原理动画
图片尺寸724x506
德国沃德wode进口压力表旋塞阀考克
图片尺寸540x230
解读各类电磁阀原理图
图片尺寸471x199
鲁尔考克阀 白色手柄 有螺旋帽
图片尺寸700x493
16种阀门动态工作原理图及3d动态演示(含视频)
图片尺寸543x364
小型无填料的旋塞阀又称为 "考克".
图片尺寸200x220
气动薄膜三通调节阀工作原理图
图片尺寸400x230
电磁阀工作原理图解
图片尺寸260x420
控制阀原理图解ppt
图片尺寸1080x810
各种阀门原理动图(续),补全了疏水阀!
图片尺寸424x558
q615f气动三通球阀
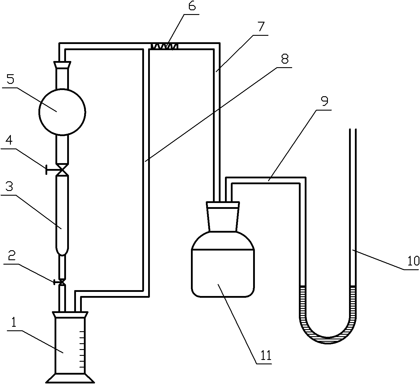
图片尺寸883x420![由上向下依次串接有球形容量瓶[5],上考克阀[4],吸附柱[3],下考克阀[2](https://i.ecywang.com/upload/1/img2.baidu.com/it/u=3656846650,2703299033&fm=253&fmt=auto&app=138&f=GIF?w=547&h=500)
由上向下依次串接有球形容量瓶[5],上考克阀[4],吸附柱[3],下考克阀[2
图片尺寸1432x1309
铜压力表三通旋塞阀水星三通阀考克阀滤器锅炉蒸汽阀耐用耐高压120克4
图片尺寸800x800
压力表附考克
图片尺寸640x569
考克阀
图片尺寸1000x943
压力表阀门考克阀内m20*旋塞阀
图片尺寸800x800