考克阀门 原理图

材asahiav考克阀实验阀 特点: -耐腐蚀,耐久性强,结构小巧的树脂阀门
图片尺寸600x303
4-wk调节阀简单原理图
图片尺寸420x579
一种可调压双头气体考克的制作方法
图片尺寸443x324
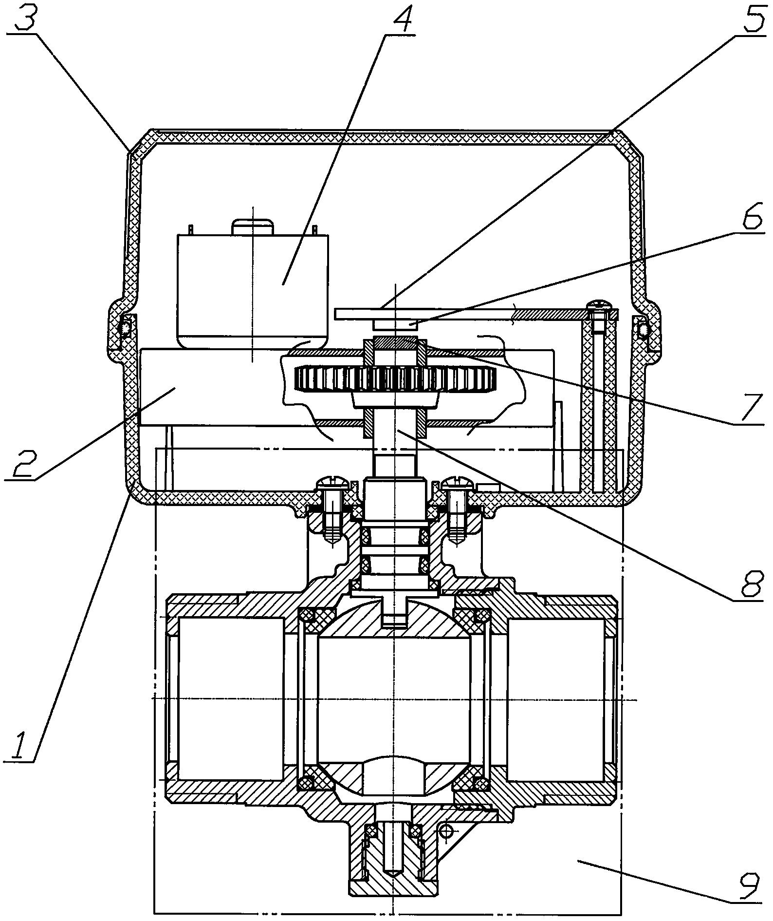
产品库 通用机械及设备 阀门 其它阀 ckd2型 分体式电动二通阀 型号
图片尺寸500x395
fisher1190原理图
图片尺寸845x533
最直观的阀门工作原理图收好
图片尺寸411x290
【技术图解析】气动薄膜三通调节阀结构与工作原理-公司新闻-铠沃阀门
图片尺寸886x605
cn201302011y_一种调压阀有效
图片尺寸1326x2624
自力式流量调节阀工作原理图
图片尺寸436x299
controlair进口精密小型调压阀100系列 上海供应 空运 阀门执行机构
图片尺寸3208x3988
派克parker方向控制阀原理介绍
图片尺寸754x522
专利详情
图片尺寸950x978
气动三通调节阀原理
图片尺寸563x440
闸阀工作原理图(关闭状态)
图片尺寸488x342
进口调节阀的基本原理介绍
图片尺寸707x560
英国罗托克rotork截止阀和闸阀可以混用吗
图片尺寸573x239
办公文教装订广告设备的制造及其产品制作工艺
图片尺寸745x577
最全面直观的阀门工作原理动态图云南专业净水地暖污水水处理
图片尺寸640x435
高温高压阀门-调节阀-陶瓷阀门-国威阀门制造有限公司-官方网站,国威
图片尺寸623x405
cn207599127u_一种利用磁旋转编码器监测阀门开度的模拟阀有效
图片尺寸1588x1891