耐张塔图解

一种特高压耐张塔
图片尺寸2116x2736
一种500kv双回路紧凑型耐张塔
图片尺寸1018x2631
一种耐张型输电杆塔
图片尺寸1204x1894
500 kv紧凑型耐张杆塔绕击耐雷性能精细化分析方法
图片尺寸466x473
一种500kv单回干字型钻越耐张塔
图片尺寸1520x2283
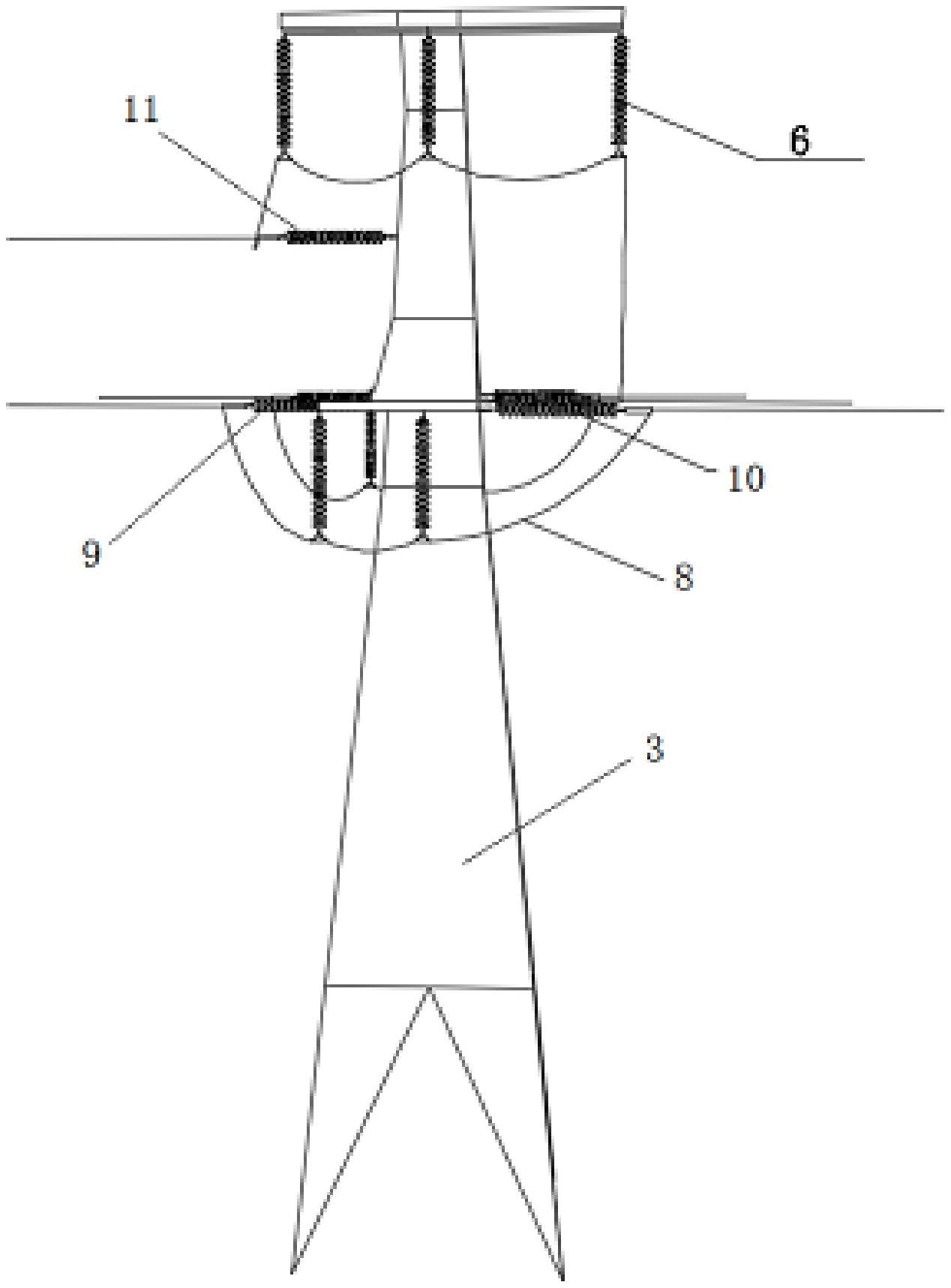
一种耐张塔的制作方法
图片尺寸708x1000
500kv复合材料横担单回路耐张塔-爱企查
图片尺寸1622x2253
一种用于30mm特重冰区导线排列方式变换的耐张塔
图片尺寸1268x1718
220kv输电线路耐张塔的制作方法
图片尺寸1000x985
cn204920412u_一种低高度的耐张塔有效
图片尺寸604x1000
一种输电线路耐张塔更换横担主材用受力装置及使用方法-爱企查
图片尺寸2372x1841
基于bim技术的耐张塔横担及跳线支架吊装分解技术
图片尺寸607x483
一种1000kv特高压重冰区酒杯型水平耐张塔的制作方法
图片尺寸517x298
一种三角排列的500kv双回路耐张钻越塔
图片尺寸800x640
一种双回路分体式耐张换位塔
图片尺寸412x443
一种酒杯型跳线上绕耐张塔的制作方法
图片尺寸438x711
一种单相拉线耐张塔及其应用制造技术
图片尺寸979x1000
cn203613859u_一种1000kv/220kv特高压交流同塔四回路耐张塔有效
图片尺寸336x1000
直线杆塔与耐张杆塔
图片尺寸678x375
cn202282596u_一种双回路单柱组合耐张塔有效
图片尺寸800x726